200 MXC '99 <1999>
FRONT FORK, TRIPLE CLAMP
Special tools (engine)
FRONT FORK DISASSEMBLED
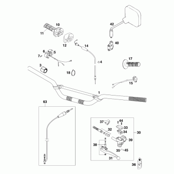
HANDLEBAR, CONTROLS
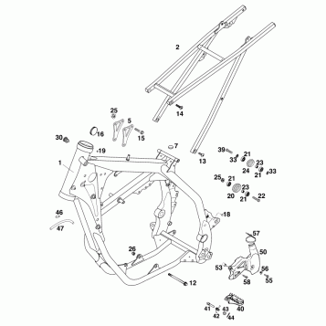
FRAME
SHOCK ABSORBER
SWING ARM
EXHAUST SYSTEM
MAIN SILENCER
AIR FILTER
TANK, SEAT
MASK, FENDERS
DECAL
FRONT WHEEL
REAR WHEEL
ACCESSORIES
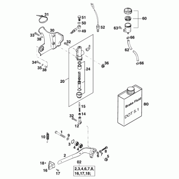
FRONT BRAKE CONTROL
REAR BRAKE CONTROL
FRONT BRAKE CALIPER
REAR BRAKE CALIPER
ENGINE CASE
CLUTCH COVER
CYLINDER
CRANKSHAFT, PISTON
REED VALVE CASE
CARBURETOR
CLUTCH
TRANSMISSION I - MAIN SHAFT
TRANSMISSION II - COUNTERSHAFT
KICK STARTER
SHIFTING MECHANISM
COOLING SYSTEM
EXHAUST CONTROL
IGNITION SYSTEM
Fuel Your Passion
Parts That Keep You Riding
Edit ride