620 SX '99 <1999>
Special tools (engine)
FRONT FORK, TRIPLE CLAMP
FRONT FORK DISASSEMBLED
HANDLEBAR, CONTROLS
FRAME
SHOCK ABSORBER
SWING ARM
EXHAUST SYSTEM
MAIN SILENCER
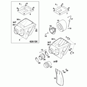
AIR FILTER
TANK, SEAT
MASK, FENDERS
DECAL
FRONT WHEEL
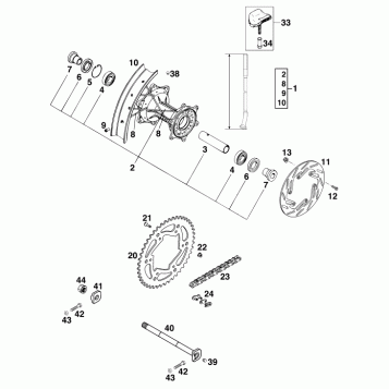
REAR WHEEL
ACCESSORIES
FRONT BRAKE CONTROL
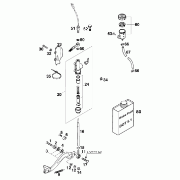
REAR BRAKE CONTROL
FRONT BRAKE CALIPER
REAR BRAKE CALIPER
ENGINE CASE
CYLINDER
CRANKSHAFT, PISTON
ENGINE VENT
CARBURETOR
CLUTCH
TRANSMISSION I - MAIN SHAFT
TRANSMISSION II - COUNTERSHAFT
KICK STARTER
SHIFTING MECHANISM
WATER PUMP
COOLING SYSTEM
VALVE DRIVE
TIMING DRIVE
CYLINDER HEAD
LUBRICATING SYSTEM
IGNITION SYSTEM
Other
Fuel Your Passion
Parts That Keep You Riding
Edit ride