- Partiron
- OEM Parts
- Polaris
- ATV
- 1994
- TRAIL BOSS - W948527
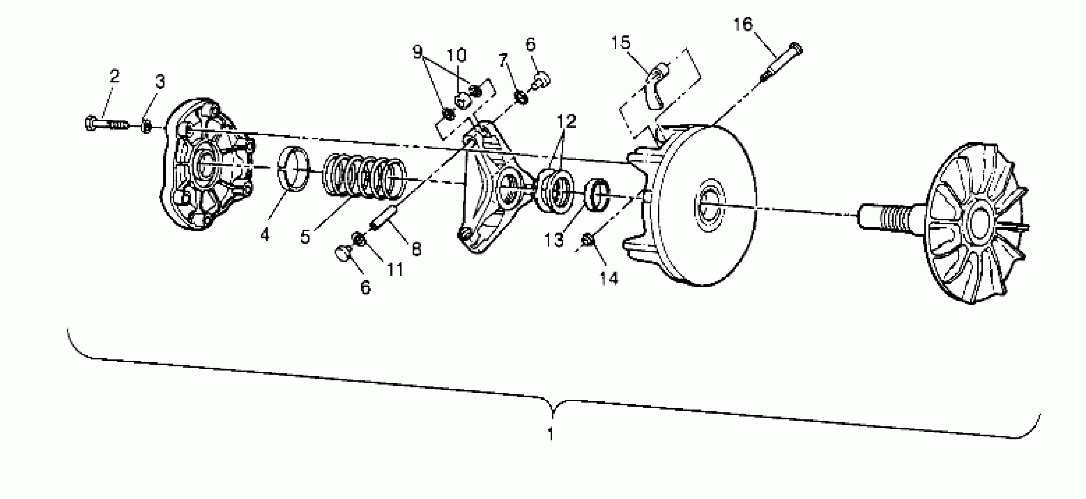
DRIVE CLUTCH ASSEMBLY Trail Boss W948527 (4926822682B009)
Polaris TRAIL BOSS - W948527 DRIVE CLUTCH ASSEMBLY Trail Boss W948527 (4926822682B009) Diagram
#
Description
Price
2
BOLT(10) Substituted by 7512163
7512176
Unavailable
8
PIN,SPIDER (.950)
5020678
Unavailable
12
SPACER(10)
5210754
Unavailable
12
SPACER(10)
5210752
Unavailable
12
SPACER(10)
5210753
Unavailable
