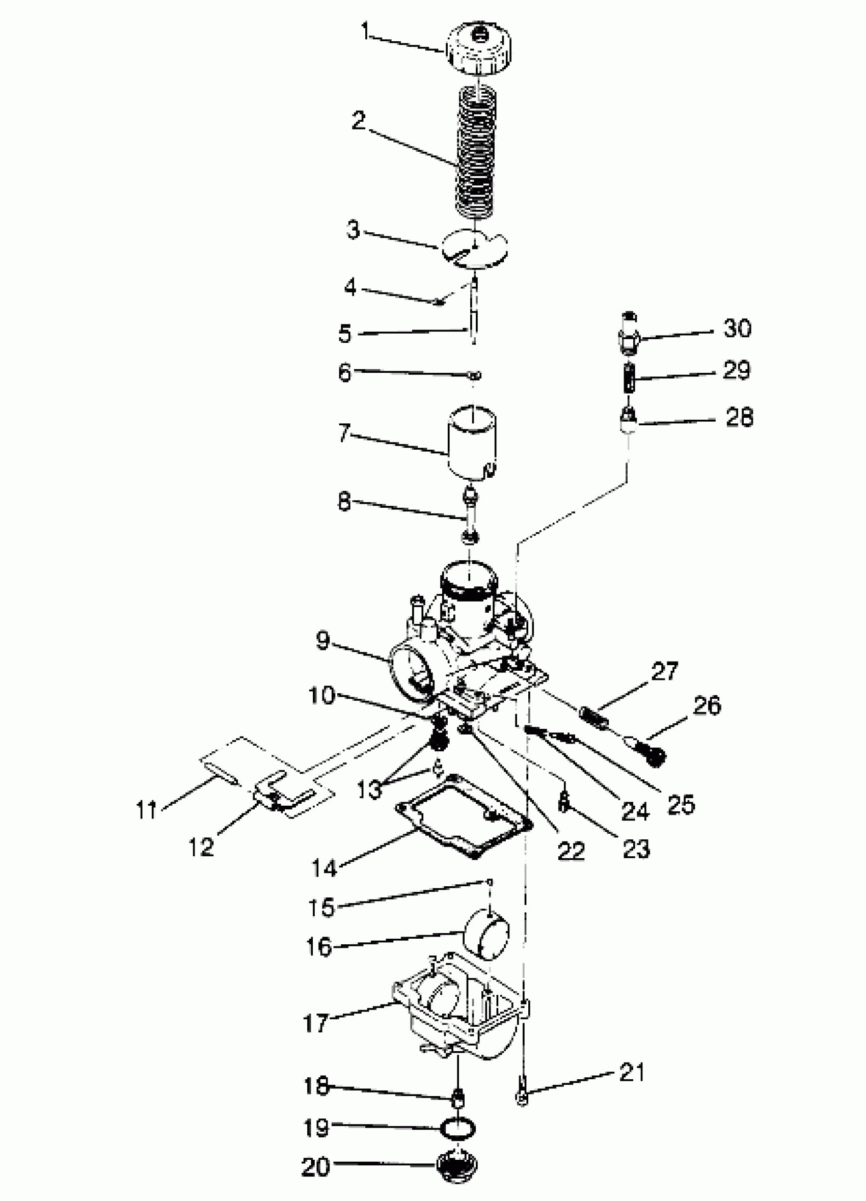
Polaris TRAIL BOSS - W948527 CARBURETOR - W948527 (4926822682C011) Diagram
#
Description
Price
1
TOP,MIX CHAMBER
3130060
Unavailable
4
E RING(10) Substituted by 3130508
3130003
Unavailable
7
VALVE,THROTTLE,(2.0) (2-0)
3130420
Unavailable
9
CARBURETOR (Incl. 1-30)
3130424
Unavailable
18
JET, MAIN, #145 Substituted by 3130112 (#145)
3130351
Unavailable
19
O RING
3130239
Unavailable
21
SCREW&WASHER
3130371
Unavailable
