- Partiron
- OEM Parts
- Polaris
- ATV
- 1990
- TRAIL BOSS 4X4 - W908127
Strut Assembly Updated 5/90 (4917731773019A)
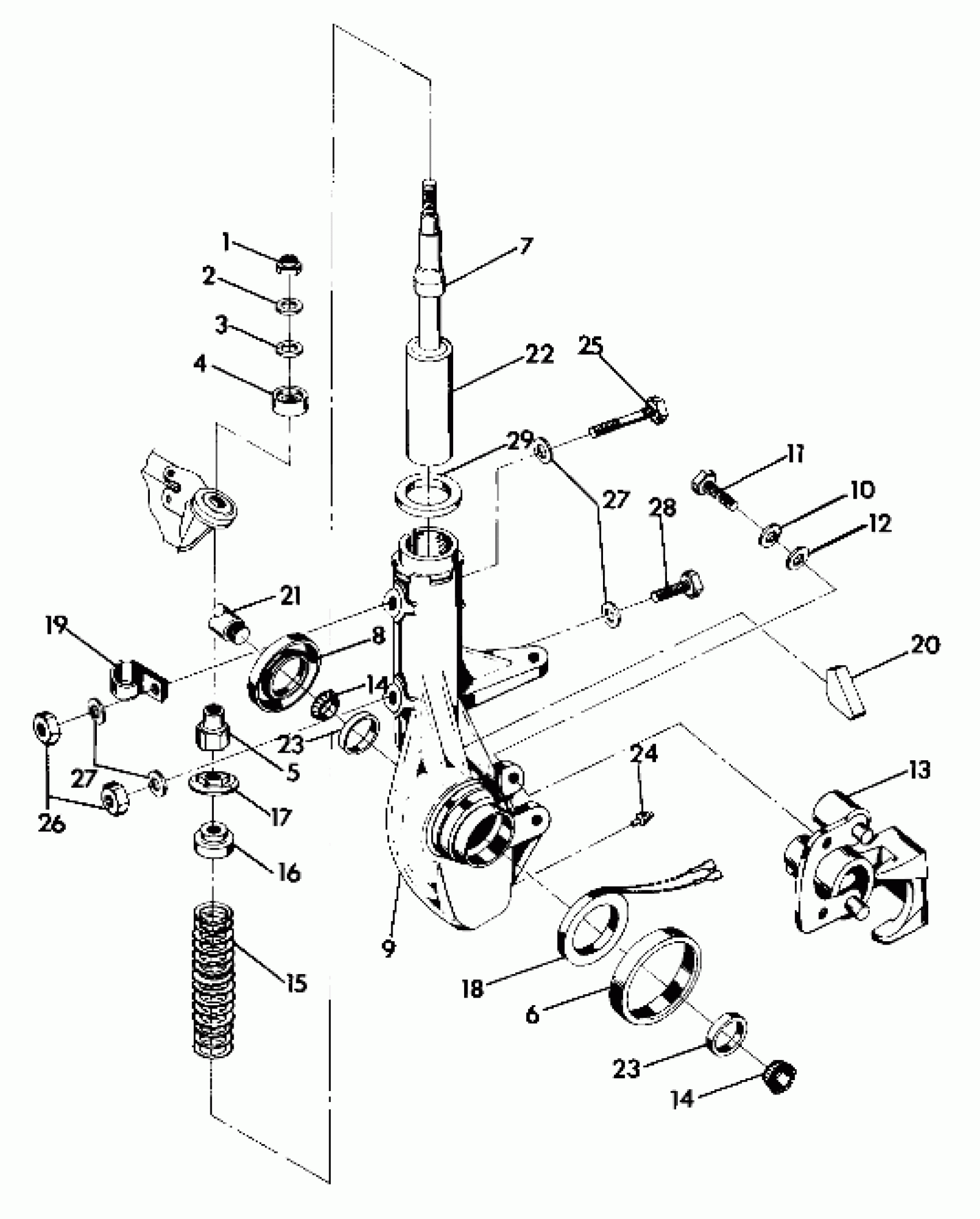
Polaris TRAIL BOSS 4X4 - W908127 Strut Assembly Updated 5/90 (4917731773019A) Diagram
#
Description
Price
4
PIVOT BALL, TOP Substituted by 5432872
5430806
Unavailable
7
BUMPER, RUBBER
5410429
Unavailable
8
SEAL, HUB STRUT
3610027
Unavailable
9
HUB STRUT ASM,LH Substituted by 2200316 (Incl. 6, 18, 20, 23, 24)
1843031
Unavailable
9
HUB STRUT ASM,RH Substituted by 2200317 (Incl. 6, 18, 20, 23, 24)
1843032
Unavailable
13
BRAKE ASM,LH FRONT Substituted by 1930663
1930639
Unavailable
13
BRAKE ASM,RH FRONT Substituted by 1930664
1930640
Unavailable
15
SPRING,STRUT,RED Substituted by 7041161-093
7041215
Unavailable
15
SPRING,COIL,F.SHOCK Substituted by 7041161-093
7041238-01
Unavailable
16
RETAINER,SPRING,TOP
5220602
Unavailable
17
PIVOT BALL,BOTTOM Substituted by 5432871
5430807
Unavailable
19
CLAMP(10) Substituted by 7080573
7080347
Unavailable
20
RETAINER,WIRE,STRUT CAST
5810439
Unavailable
21
SHAFT,DRIVE,FRONT
1380020
Unavailable
22
SHOCK,FR.STRUT Substituted by 7041451
7041211
Unavailable
28
BOLT(10)
7515334
Unavailable
