- Partiron
- OEM Parts
- Sea-doo
- Watercraft
- 1998
- SPX
- SPX, 5838/5839, 1998
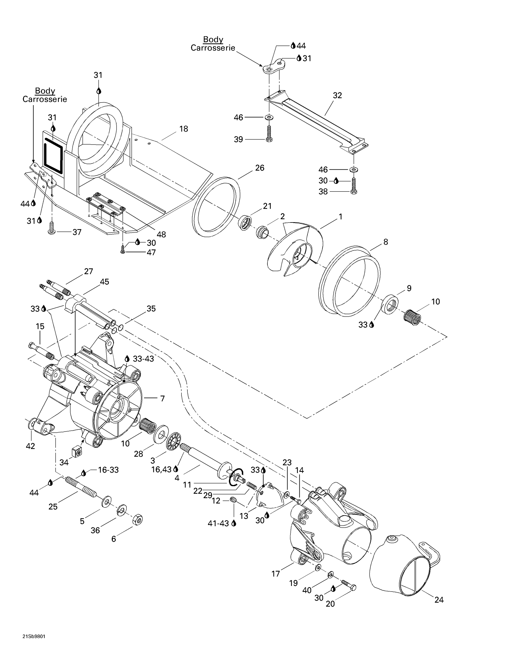
Propulsion System
Sea-doo SPX, 5838/5839, 1998 Propulsion System Diagram
#
Description
Price
1
STAINLESS STEEL IMPELLER ASS'Y - Call your local BRP dealership
271000828
Unavailable
3
BEARING THRUST - Call your local BRP dealership
293350019
Unavailable
4
IMPELLER SHAFT - Call your local BRP dealership
271000291
Unavailable
6
HEX. NUT M10 - Call your local BRP dealership
232001600
Unavailable
7
IMPELLER HOUSING ASS'Y - Call your local BRP dealership | Includes 7 - 10.
295500429
Unavailable
13
IMPELLER COVER - Call your local BRP dealership
271000670
Unavailable
15
FITTING-PUMP - Call your local BRP dealership
293700019
Unavailable
18
Shoe (Black)
271000325190
Unavailable
22
Pusher
271000898
Unavailable
25
STUD-M10 - Call your local BRP dealership
211300015
Unavailable
26
Seal Neoprene
293200050
Unavailable
27
BAILER FITTING - Call your local BRP dealership
293700017
Unavailable
28
THRUST WASHER - Call your local BRP dealership
293350020
Unavailable
29
SPRING - Call your local BRP dealership
271000704
Unavailable
32
INLET GRATE - Call your local BRP dealership
271000466
Unavailable
45
WATER OUTLET - Call your local BRP dealership
271000366
Unavailable
47
SCREW-CTSK.OV.HD.PH.DIN.966A-A2 - Call your local BRP dealership
216351060
Unavailable
48
Ride Shoe Cap
291000446
Unavailable
