- Partiron
- OEM Parts
- Polaris
- ATV
- 1994
- SPORT 400L - W948540
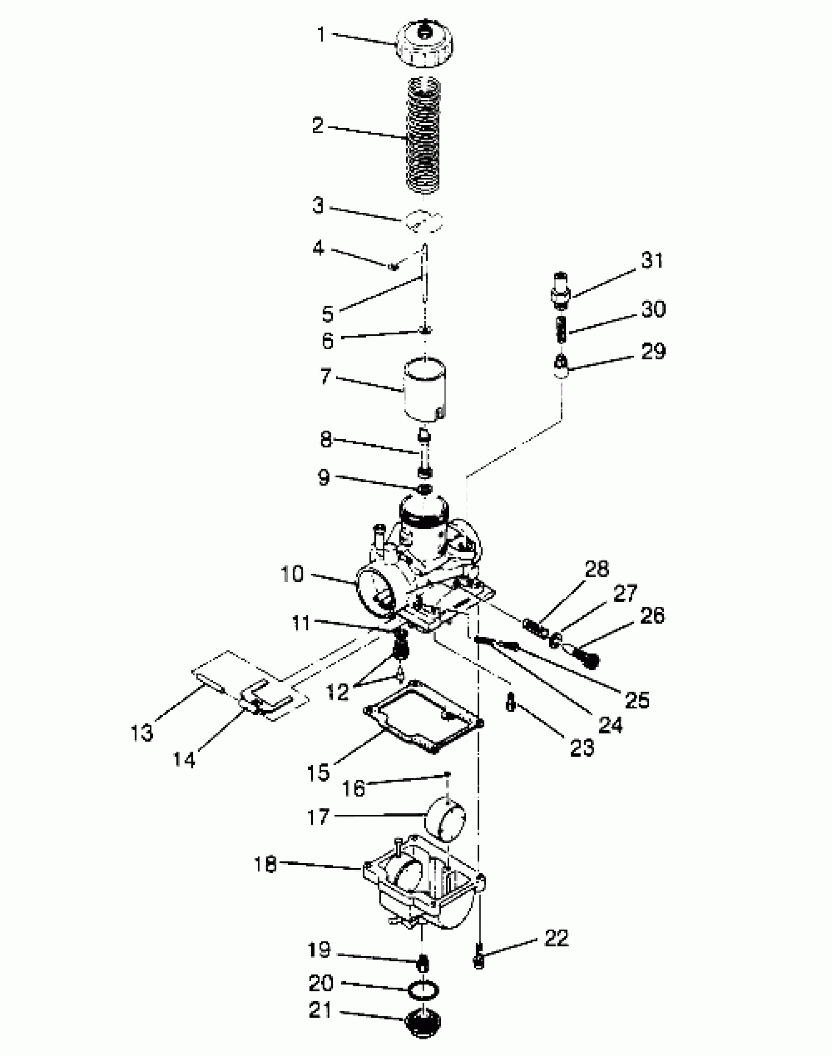
CARBURETOR Sport 400L W948540 (4927232723C012)
Polaris SPORT 400L - W948540 CARBURETOR Sport 400L W948540 (4927232723C012) Diagram
#
Description
Price
4
E RING(10) Substituted by 3130508
3130003
Unavailable
5
JET NEEDLE,6-DH29 (6DH29-2)
3130462
Unavailable
7
VALVE,THROTTLE,(1.5) (1.5)
3130494
Unavailable
8
NEEDLE JET ASM.
3130429
Unavailable
9
RING, MAIN JET
3130393
Unavailable
10
CARBURETOR Substituted by 3130710 (Incl. 1-31)
3130493
Unavailable
18
BOWL, FLOAT (350)
3130443
Unavailable
20
O RING
3130239
Unavailable
27
Washer
3130447
Unavailable
28
SPRING,THROT.ADJ.
3130436
Unavailable
