- Partiron
- OEM Parts
- Suzuki
- Motorcycle
- 1983
- SP250 (1983)
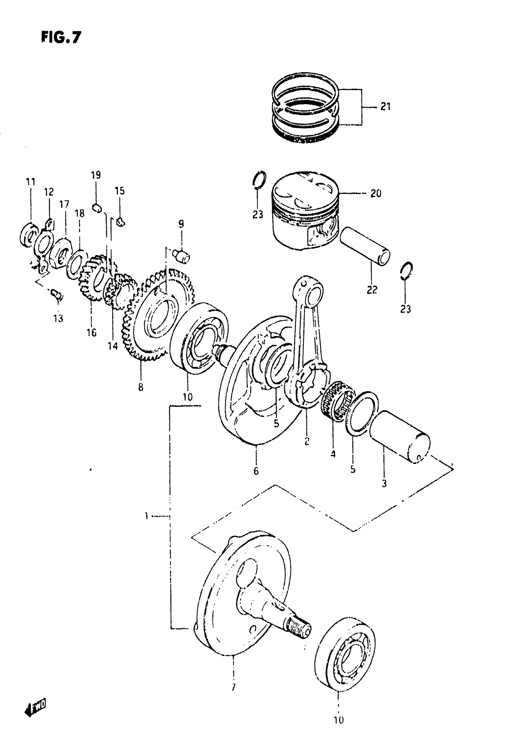
CRANKSHAFT
Suzuki SP250 (1983) CRANKSHAFT Diagram
#
Description
Price
1
CRANKSHAFT ASSY | Includes Item(s) 2 - 9 This part replaces 12200-38200.
12200-38201
Unavailable
2
ROD, CONNECTING This part replaces 12161-38200.
12161-38201
Unavailable
3
PIN, CRANK This part replaces 12211-38200.
12211-38211
Unavailable
6
CRANKSHAFT, RH
12221-38200
Unavailable
7
CRANKSHAFT, LH
12261-38200
Unavailable
8
GEAR, CRANK BALANCER DRIVE This part replaces 12661-38201.
12661-38202
Unavailable
9
PIN
09209-12006
Unavailable
11
OIL SEAL, RH
09282-14001
Unavailable
12
PLATE, RH
12548-38200
Unavailable
14
SPROCKET, DRIVE (NT:21)
12731-38200
Unavailable
15
KEY
12749-32400
Unavailable
16
GEAR, PRIMARY DRIVE (NT:21)
21111-38200
Unavailable
19
KEY, GEAR
09421-07002
Unavailable
20
PISTON SET (OS:1.0) | OPT This part replaces 12111-38201-100.
12100-38200-100
Unavailable
21
RING SET, PISTON (OS:1.0) | OPT This part replaces 12140-49220-100.
12140-49221-100
Unavailable
