- Partiron
- OEM Parts
- Suzuki
- Motorcycle
- 1983
- SP250 (1983)
AIR CLEANER
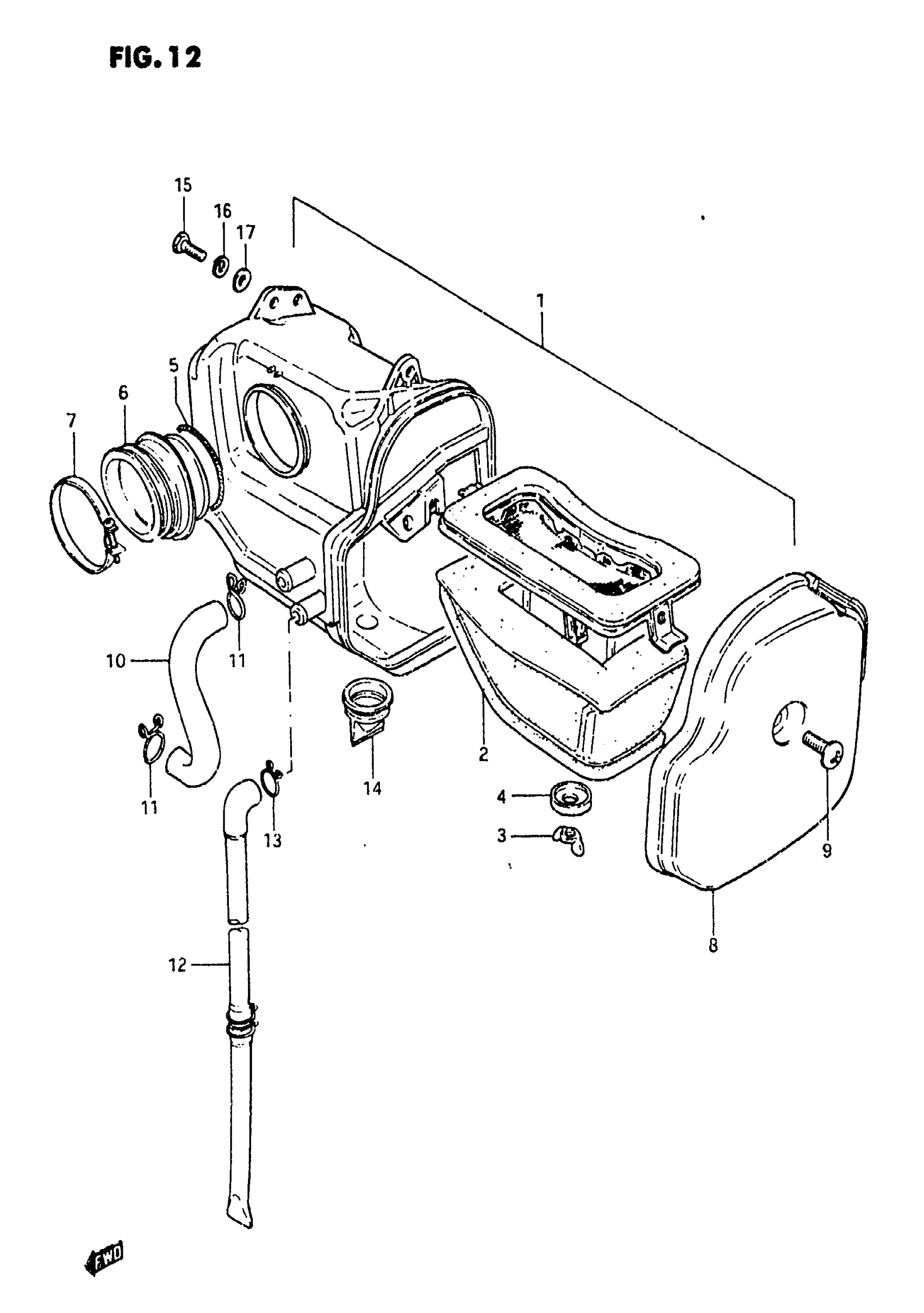
Suzuki SP250 (1983) AIR CLEANER Diagram
#
Description
Price
1
CLEANER ASSY, AIR | MODEL Z This part replaces 13700-38200.
13700-38202
Unavailable
1
CLEANER ASSY, AIR | MODEL D; Includes Item(s) 2 - 14 This part replaces 13700-38201.
13700-38202
Unavailable
2
FILTER ASSY This part replaces 13781-38200.
13780-38200
Unavailable
5
SPRING
13931-02100
Unavailable
6
HOSE, OUTLET
13881-38200
Unavailable
8
CAP | MODEL Z This part replaces 13740-38200.
13740-38201
Unavailable
8
CAP | MODEL D
13740-38201
Unavailable
10
HOSE, BREATHER
13853-38200
Unavailable
11
CLIP
09401-16301
Unavailable
13
CLIP | MODEL Z
09401-00020
Unavailable
13
CLIP | MODEL D
09401-16301
Unavailable
14
HOSE, DRAIN (2)
13873-20400
Unavailable
