- Partiron
- OEM Parts
- Honda
- MOTORCYCLE
- Models With No Year
- SL125A MOTORCYCLE, JPN, VIN# SL125S-1000001 TO SL125S-1038068
CARBURETOR
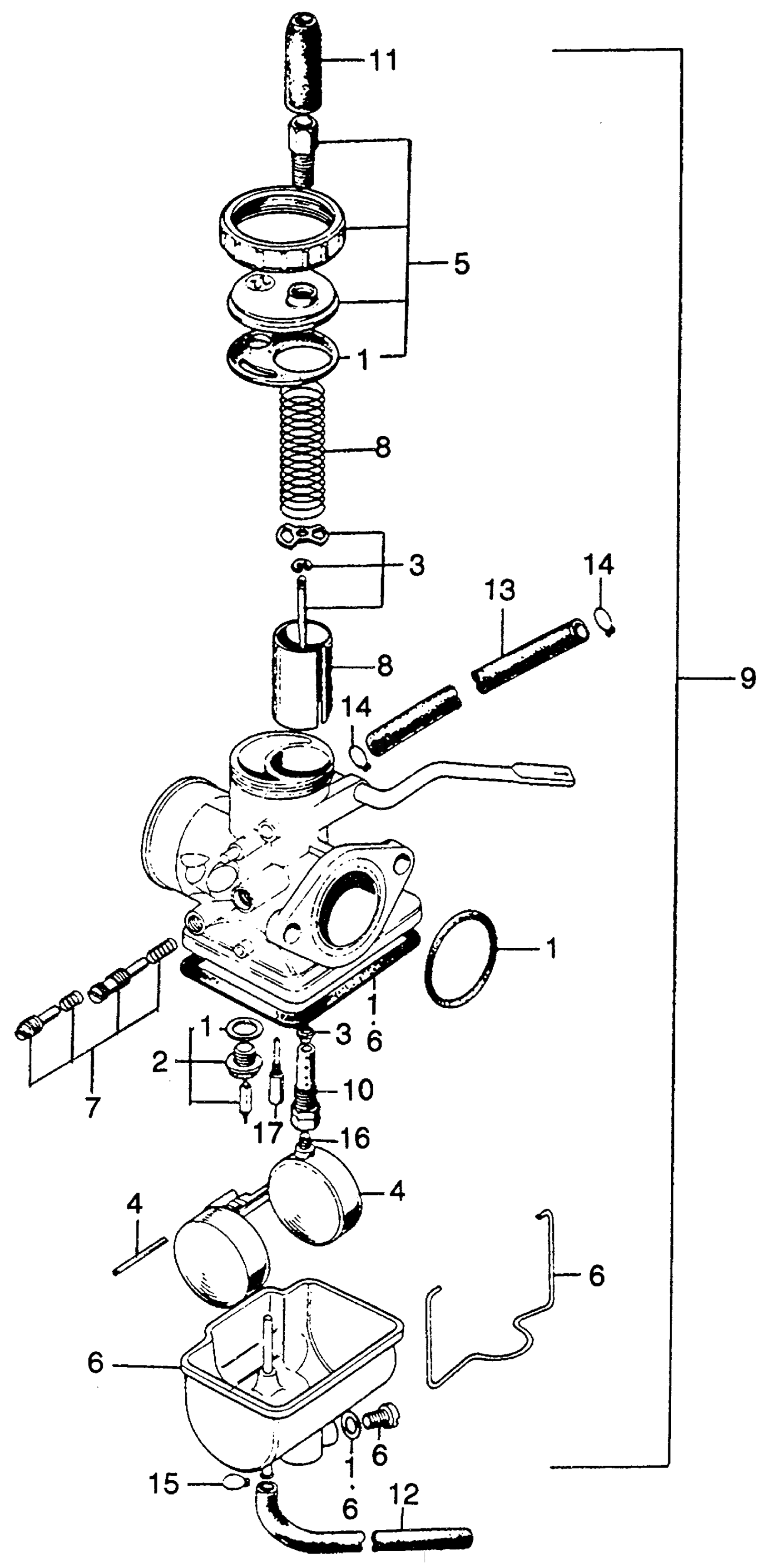
Honda SL125A MOTORCYCLE, JPN, VIN# SL125S-1000001 TO SL125S-1038068 CARBURETOR Diagram
#
Description
Price
3
NEEDLE SET, JET (NOT AVAILABLE)
16012-331-004
Unavailable
5
TOP SET (NOT AVAILABLE)
16014-107-711
Unavailable
6
CHAMBER SET A, FLOAT (NOT AVAILABLE)
16015-107-710
Unavailable
7
SCREW SET A
16016-KJ2-671
Unavailable
7
SCREW SET A This part replaces 16016-035-004.
16016-KJ2-671
Unavailable
8
VALVE SET, THROTTLE (NOT AVAILABLE)
16022-331-004
Unavailable
9
CARBURETOR ASSY. (NOT AVAILABLE) | Use from Engine SN 1000001 to 1009601 This part replaces 16100-331-004.
16100-331-014
Unavailable
9
CARBURETOR ASSY. (NOT AVAILABLE)
16100-331-014
Unavailable
10
HOLDER, NEEDLE JET (NOT AVAILABLE)
16139-107-710
Unavailable
11
CAP, CABLE SEALING | Use from Engine SN 1000001 This part replaces 16118-086-004.
16118-166-004
$8.08
11
CAP, CABLE SEALING | Use from Engine SN 1000001 to 1009601 This part replaces 16118-190-004.
16118-166-004
$8.08
11
CAP, CABLE SEALING | Use from Engine SN 1000001 to 1009601 This part replaces 16194-028-004.
16118-166-004
$8.08
13
TUBE (4.5) | Use from Engine SN 1000001 to 1009601 This part replaces 95001-45000.
95001-45000-40
Unavailable
13
TUBE (4.5) | Use from Engine SN 1000001 to 1009601 This part replaces 95001-45000-90.
95001-45000-40
Unavailable
13
TUBE (4.5) | Use from Engine SN 1000001 to 1009601 This part replaces 95001-45085.
95001-45000-40
Unavailable
13
TUBE (4.5) | Use from Engine SN 1000001 to 1009601 This part replaces 95001-45100.
95001-45000-40
Unavailable
13
TUBE (4.5) | Use from Engine SN 1000001 to 1009601 This part replaces 95001-45100-90.
95001-45000-40
Unavailable
13
TUBE (4.5) | Use from Engine SN 1000001 to 1009601 This part replaces 95001-45105.
95001-45000-40
Unavailable
13
TUBE (4.5) | Use from Engine SN 1000001 to 1009601 This part replaces 95001-45120.
95001-45000-40
Unavailable
13
TUBE (4.5) | Use from Engine SN 1000001 to 1009601 This part replaces 95001-45130.
95001-45000-40
Unavailable
13
TUBE (4.5) | Use from Engine SN 1000001 to 1009601 This part replaces 95001-45140.
95001-45000-40
Unavailable
13
TUBE (4.5) | Use from Engine SN 1000001 to 1009601 This part replaces 95001-45150.
95001-45000-40
Unavailable
13
TUBE (4.5) | Use from Engine SN 1000001 to 1009601 This part replaces 95001-45180.
95001-45000-40
Unavailable
13
TUBE (4.5) | Use from Engine SN 1000001 to 1009601 This part replaces 95001-45190.
95001-45000-40
Unavailable
13
TUBE (4.5) | Use from Engine SN 1000001 to 1009601 This part replaces 95001-45210.
95001-45000-40
Unavailable
13
TUBE (4.5) | Use from Engine SN 1000001 to 1009601 This part replaces 95001-45475.
95001-45000-40
Unavailable
16
JET, MAIN (#105)
99114-246-1050
Unavailable
