- Partiron
- OEM Parts
- Suzuki
- Motorcycle
- 1995
- RMX250 (1995)
REAR MASTER CYLINDER (MODEL K)
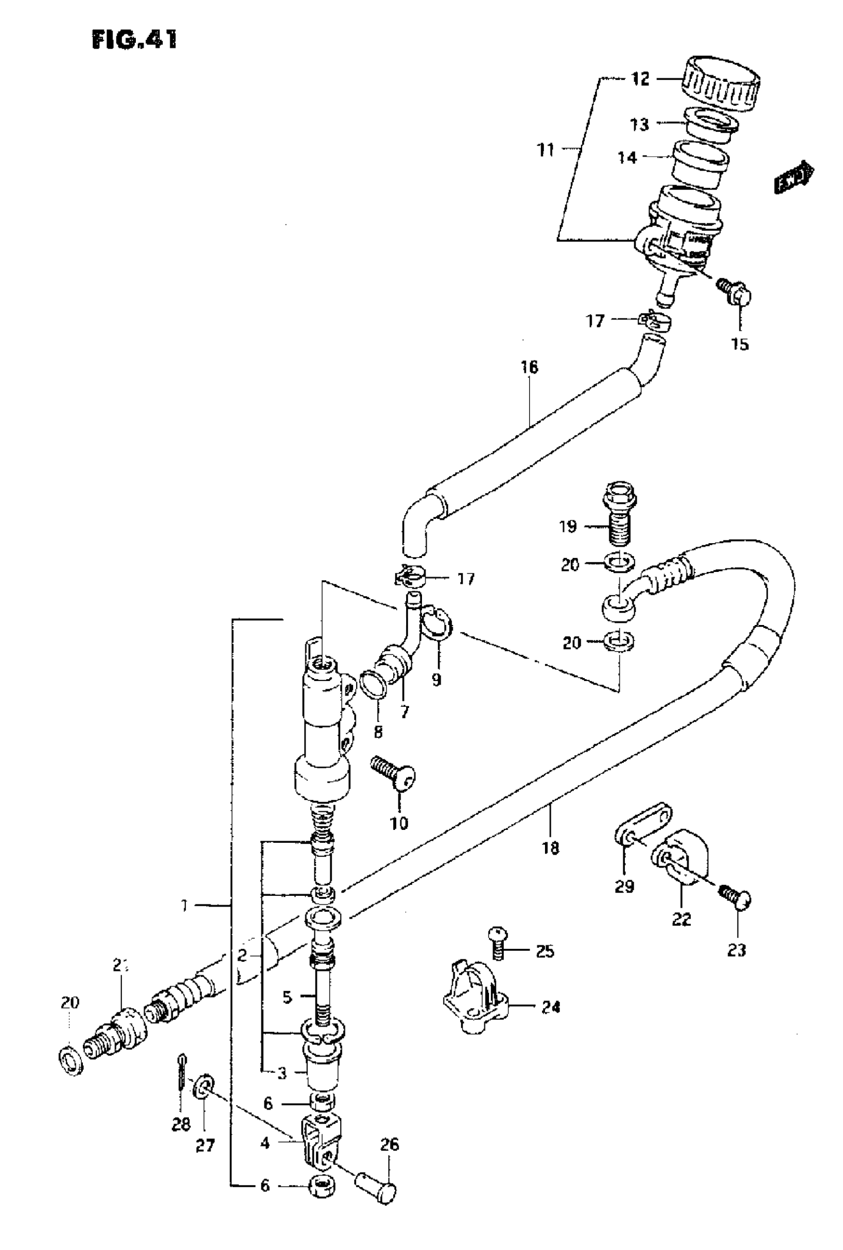
Suzuki RMX250 (1995) REAR MASTER CYLINDER (MODEL K) Diagram
#
Description
Price
1
CYLINDER ASSY, REAR MASTER
69600-00B23
Unavailable
11
TAW ASSY, RESERVOIR
69740-05D00
Unavailable
16
HOSE, RESERVOIR TANK
69731-00B23
Unavailable
18
HOSE, REAR BRAKE
69480-05D00
Unavailable
27
WASHER
09160-08074
Unavailable
29
SEAT, HOSE GUIDE
61197-27C00
Unavailable
