Partiron

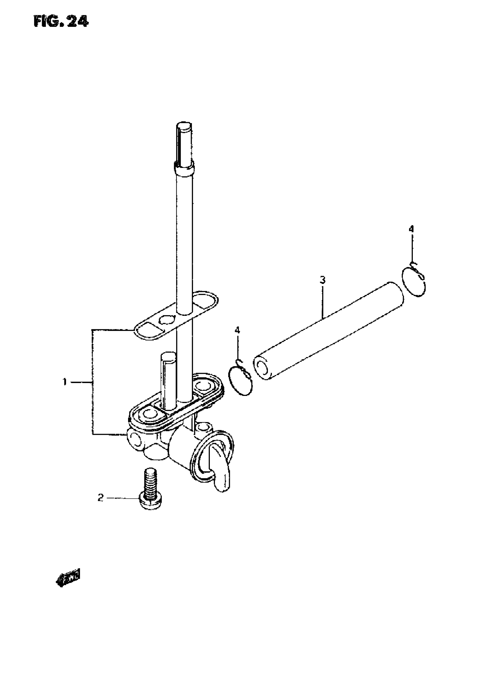
Suzuki RMX250 (1995) FUEL COCK Diagram

#

Description
Price

1

COM ASSY, FUEL

44300-05D00

Unavailable

2

SCREW This part replaces 02112-36168.

02112-36167

$2.34

3

HOSE(6.5X11.5X6 | MODEL K/L/M/N This part replaces 09354-65113-600.

09355-65001-600

$12.00

3

HOSE,FUEL | MODEL P/R This part replaces 44421-05D00.

44421-05D02

Unavailable

3

HOSE,FUEL | MODEL S This part replaces 44421-05D01.

44421-05D02

Unavailable

4

CLIP

09401-11101

$2.36