- Partiron
- OEM Parts
- Suzuki
- Motorcycle
- 1993
- RM80 (1993)
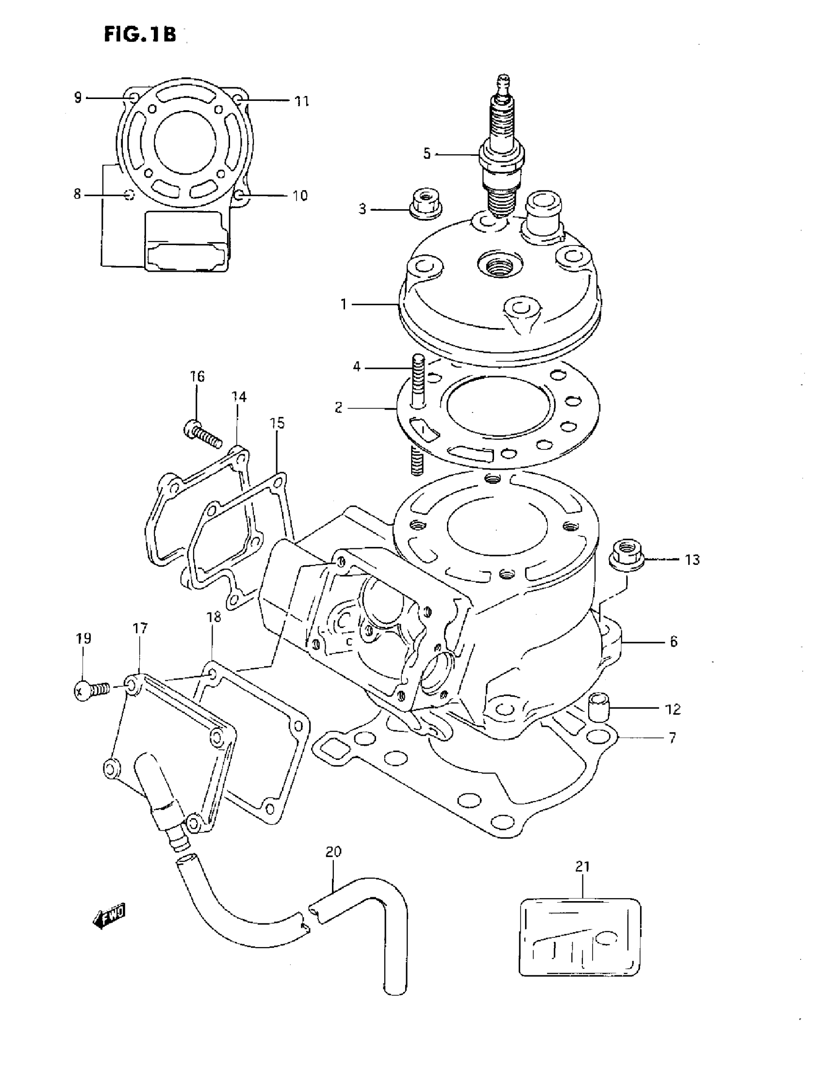
CYLINDER (L)
Suzuki RM80 (1993) CYLINDER (L) Diagram
#
Description
Price
1
NO DESCRIPTION AVAILABLE This part replaces 11111-02B42.
11111-02B43
Unavailable
2
GASKET, CYLINDER HEAD
11141-02B60
Unavailable
5
SPARK PLUG (ND , W27ES)
09482-00160
Unavailable
6
CYLINDER
11210-02B62-0F0
Unavailable
21
GASKET SET | OPT This part replaces 11401-02831.
11401-02836
Unavailable
