- Partiron
- OEM Parts
- Suzuki
- Motorcycle
- 1979
- RM400 (1979)
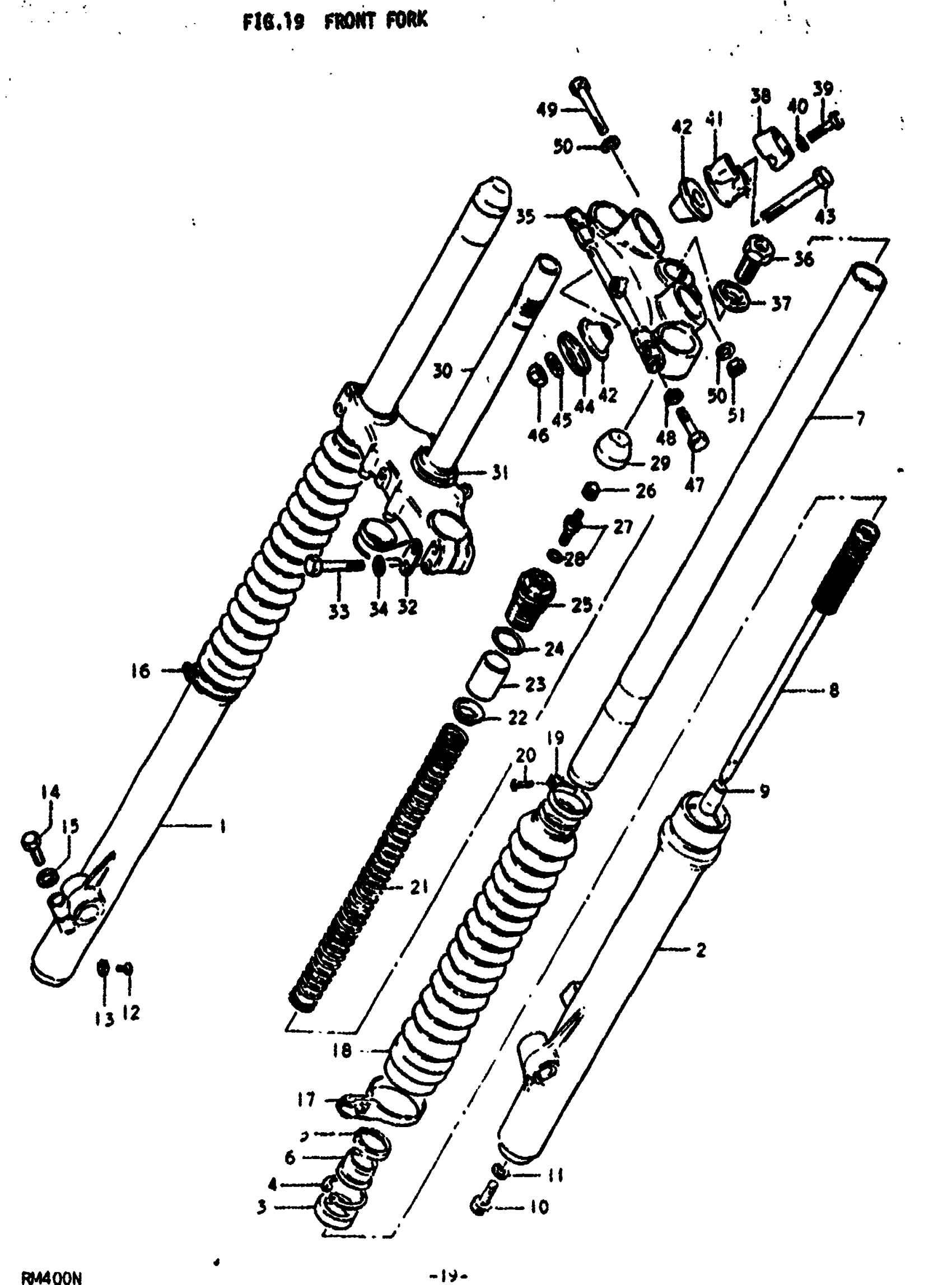
FRONT FORK
Suzuki RM400 (1979) FRONT FORK Diagram
#
0
FRONT FORK ASSY | ~F.NO.106859. This part replaces 51100-40400-08C.
51100-40410-08C
Unavailable
0
FRONT FORK ASSY | F.NO.106860~.; Includes Item(s) 1 - 51
51100-40410-08C
Unavailable
1
OUTER TUBE, RH
51130-40300
Unavailable
2
OUTER TUBE, LH
51140-40300
Unavailable
3
OIL SEAL
51153-40300
Unavailable
4
SNAP RING
51156-40300
Unavailable
5
CASE, DUST SEAL
51149-40300
Unavailable
6
DUST SEAL This part replaces 51173-40300.
51173-40301
Unavailable
7
INNER TUBE
51110-40300
Unavailable
8
CYLINDER | ~F.NO.106859.
51146-40200
Unavailable
8
CYLINDER | F.NO.106860~.
51146-40410
Unavailable
9
PIECE, OIL LOCK
51195-40300
Unavailable
16
BAND, LOWER RH
51573-40300
Unavailable
17
CLIP, LOWER LH
51572-40300
Unavailable
18
BOOT
51571-40300
Unavailable
19
BAND BOOTS UPPE This part replaces 51575-40300.
51575-44B00
Unavailable
21
SPRING
51171-40300
Unavailable
23
SPACER
51176-40300
Unavailable
25
CAP
51351-40300
Unavailable
26
CAP
51294-49000
Unavailable
27
VALVE, OIL
51293-49001
Unavailable
28
O RING
51117-41211
Unavailable
29
CAP
51189-41220
Unavailable
30
STEM, STEERING
51410-40300-08C
Unavailable
31
NO DESCRIPTION AVAILABLE This part replaces 51621-40030.
51621-40X00
Unavailable
32
CLIP This part replaces 58621-40300.
58621-40301
Unavailable
35
HEAD, STEERING STEM
51311-40400-08C
Unavailable
36
BOLT
51351-41320
Unavailable
37
WASHER
51356-41310
Unavailable
38
HOLDER, HANDLE UPPER
56211-40300-08C
Unavailable
41
HOLDER, HANDLE LOWER
56221-40400-08C
Unavailable
42
RUBBER
56241-40400
Unavailable
43
BOLT
51321-40400
Unavailable
44
COVER, RUBBER
51721-40400
Unavailable
