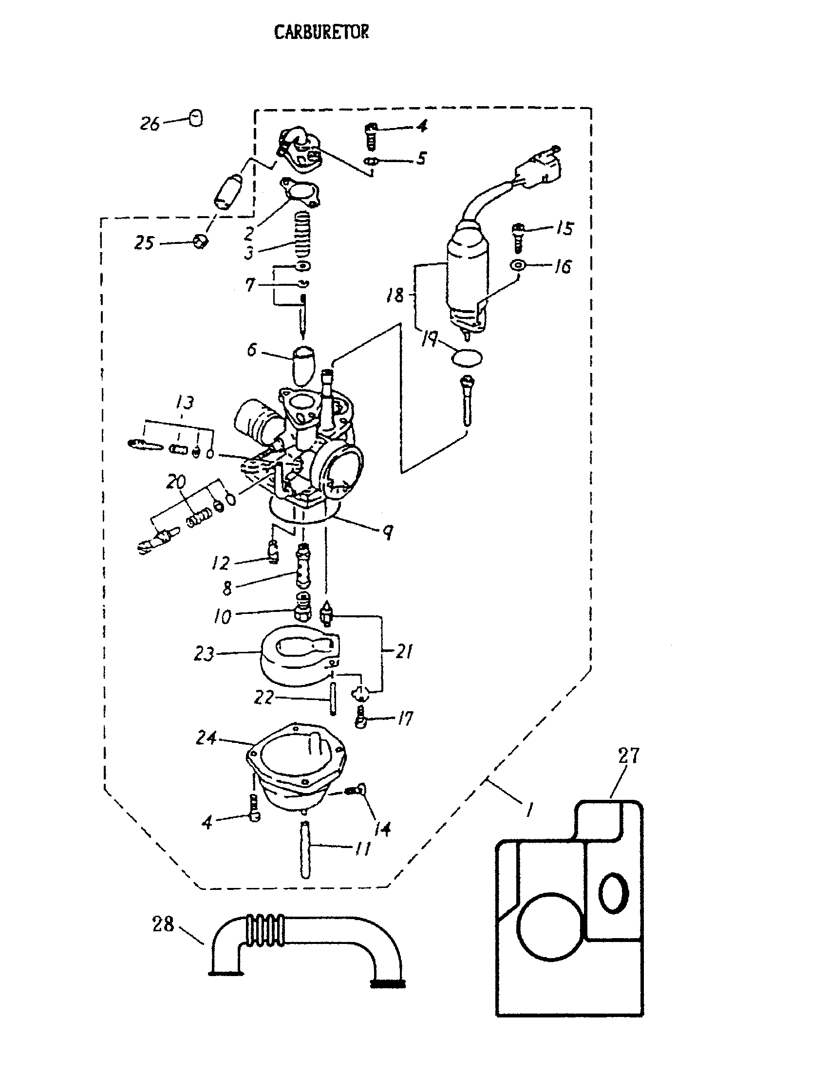
Can-Am Mini DS 90 2-strokes, 2002 Carburetor 170-06 Diagram
#
Description
Price
1
CARBURETOR ASSY - Call your local BRP dealership
A1610011700A
Unavailable
2
Carburetor Gasket
A16101116000
Unavailable
3
Throttle Valve Spring
A16102116000
Unavailable
4
PAN PHILLIPS BOLT M4 X 14 - Call your local BRP dealership
A9350004014
Unavailable
5
Spring Washer
A941110407010
Unavailable
6
THROTTLE VALVE - Call your local BRP dealership
A16103116000
Unavailable
7
Needle Set
A16104117000
Unavailable
8
NEEDLE NOZZLE - Call your local BRP dealership
A16105117000
Unavailable
9
FLOAT CHAMBER SEAL - Call your local BRP dealership
A16106116000
Unavailable
10
Main Nozzle, 77.5
A16108117000
Unavailable
11
Over Flow Tube
A16109116000
Unavailable
12
PILOT JET - Call your local BRP dealership
A16110116000
Unavailable
13
AIR ADJUST SCREW SET - Call your local BRP dealership
A16115116000
Unavailable
14
Drain Plug
A16111116000
Unavailable
15
PHILLIPS SCREW M4 X 8 - Call your local BRP dealership
208640860
Unavailable
16
Spring Washer
A941110406510
Unavailable
17
Pan Phillips Bolt M3 X 6
A9350003008
Unavailable
18
PLUNGER STARTER - Call your local BRP dealership
A17215116000
Unavailable
19
OIL RING - Call your local BRP dealership
A91314116000
Unavailable
20
Throttle Screw Set
A16114116000
Unavailable
21
NEEDLE VALVE ASS'Y - Call your local BRP dealership
A1611711600A
Unavailable
22
Float Pin
A16119116000
Unavailable
23
FLOAT - Call your local BRP dealership
A16118116000
Unavailable
24
Float Chamber
A16107116000
Unavailable
25
Cable Adjust Nut
A16113116000
Unavailable
26
Purge Hole Plug
A42615145000
Unavailable
27
CARBURETOR SHROUD - Call your local BRP dealership
A16140116000
Unavailable
28
TUBE BREATHER - Call your local BRP dealership
A11211145000
Unavailable
