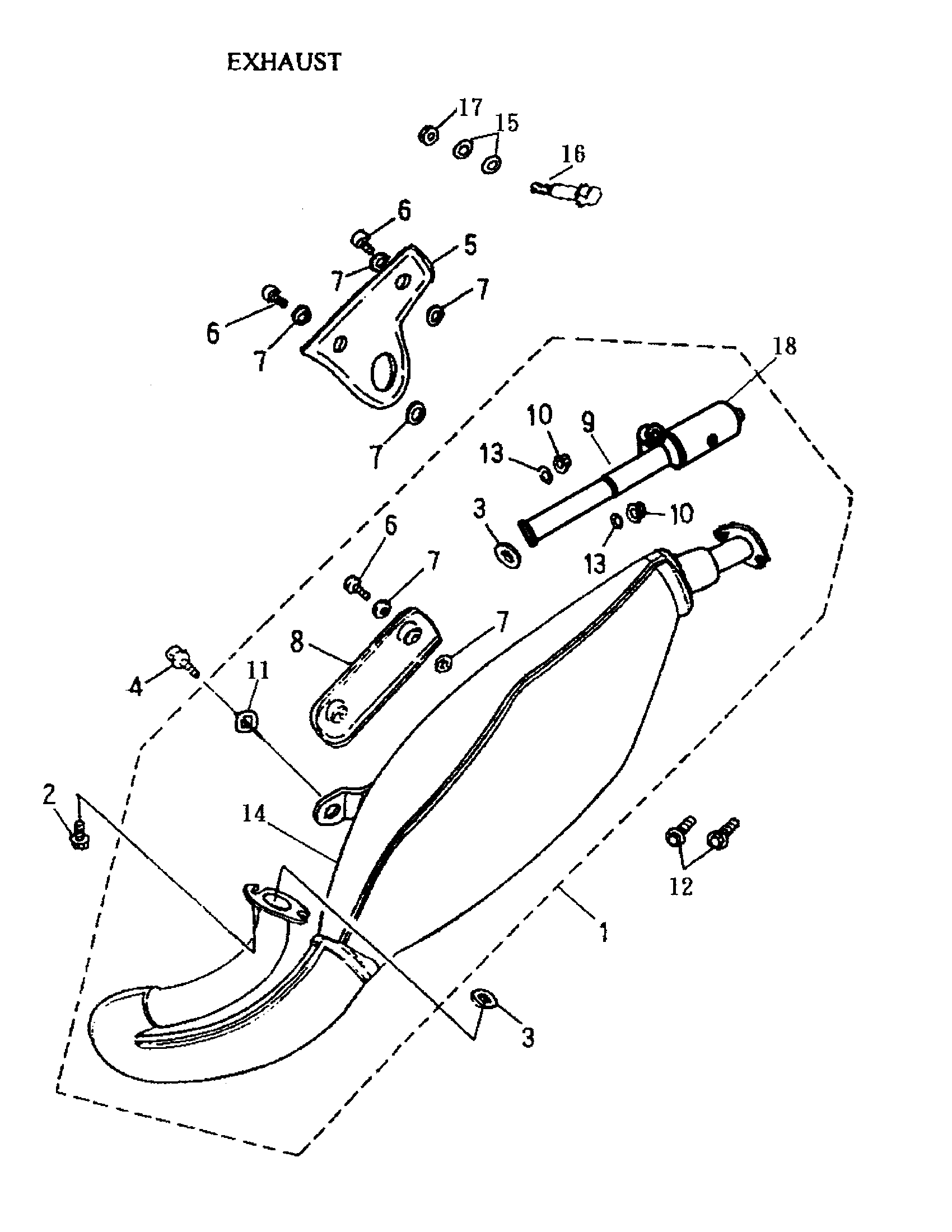
Can-Am Mini DS 90 2-strokes, 2002 Exhaust 170-07 Diagram
#
Description
Price
1
Exhaust Pipe Ass'y
A1830014600D
Unavailable
2
HEXAGONAL HEAD PHILLIPS BOLT M6X18 - Call your local BRP dealership
A920010601810
Unavailable
3
EXHAUST PIPE GASKET - Call your local BRP dealership
A18291101000
Unavailable
4
Hex. Washer Face Bolt M8 X 25
A960000802512
Unavailable
5
INSOLATOR - Call your local BRP dealership
A18301145000
Unavailable
6
Hex. Washer Face Bolt M6 X 12
A960000601208
Unavailable
7
Muffler Shroud Packing
A18292104000
Unavailable
8
Muffler Shroud
A18318145000
Unavailable
9
Tail Of Muffler
A1832114500C
Unavailable
11
Spring Washer
A941110814520
Unavailable
12
Hex. Washer Face Bolt M6 X 25
A960000602510
Unavailable
13
PLAIN WASHER, 6 X 14 X 2 - Call your local BRP dealership
A941010614020
Unavailable
14
Front Exhaust Pipe
A18311146000
Unavailable
15
PLAIN WASHER - Call your local BRP dealership
A941051022025G
Unavailable
16
Hex. Washer Face Bolt M10 x 48
A96001004814G
Unavailable
18
Spark Arrester
A18330145000
Unavailable
