- Partiron
- OEM Parts
- Suzuki
- All Terrain Vehicle
- 1984
- LT125 (1984)
REAR FENDER
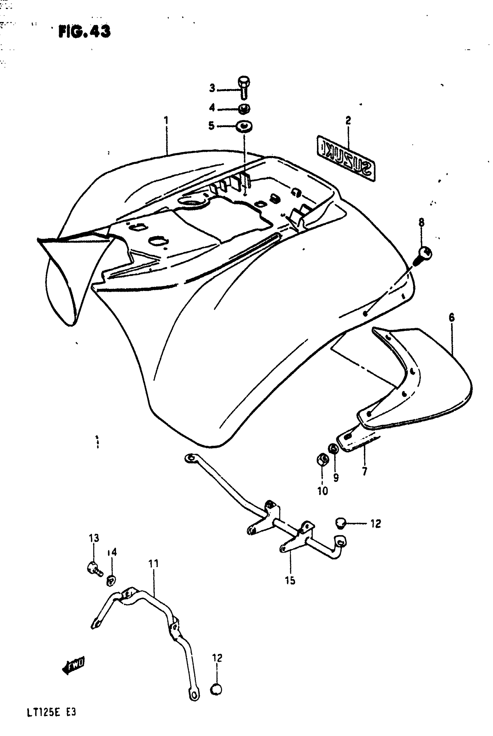
Suzuki LT125 (1984) REAR FENDER Diagram
#
Description
Price
1
FENDER, REAR (WINNING ORANGE) | MODEL D This part replaces 63111-24300-00N.
63111-24305-25G
Unavailable
1
FENDER, REAR (WINNING ORANGE) | MODEL E This part replaces 63111-24304-00N.
63111-24305-25G
Unavailable
2
EMBLEM | MODEL D This part replaces 68112-18900-064.
68112-18901-7ZP
Unavailable
2
EMBLEM | MODEL E This part replaces 68112-18901-94A.
68112-18901-7ZP
Unavailable
6
MUD GUARD, REAR FANDER
63331-24300
Unavailable
7
PLATE, MUD GUARD
63332-24300
Unavailable
11
REINFORCEMENT, FRONT
63120-18901
Unavailable
15
REINFORCEMENT, REAR This part replaces 63130-18900.
63130-18901
Unavailable
