- Partiron
- OEM Parts
- Suzuki
- All Terrain Vehicle
- 1984
- LT125 (1984)
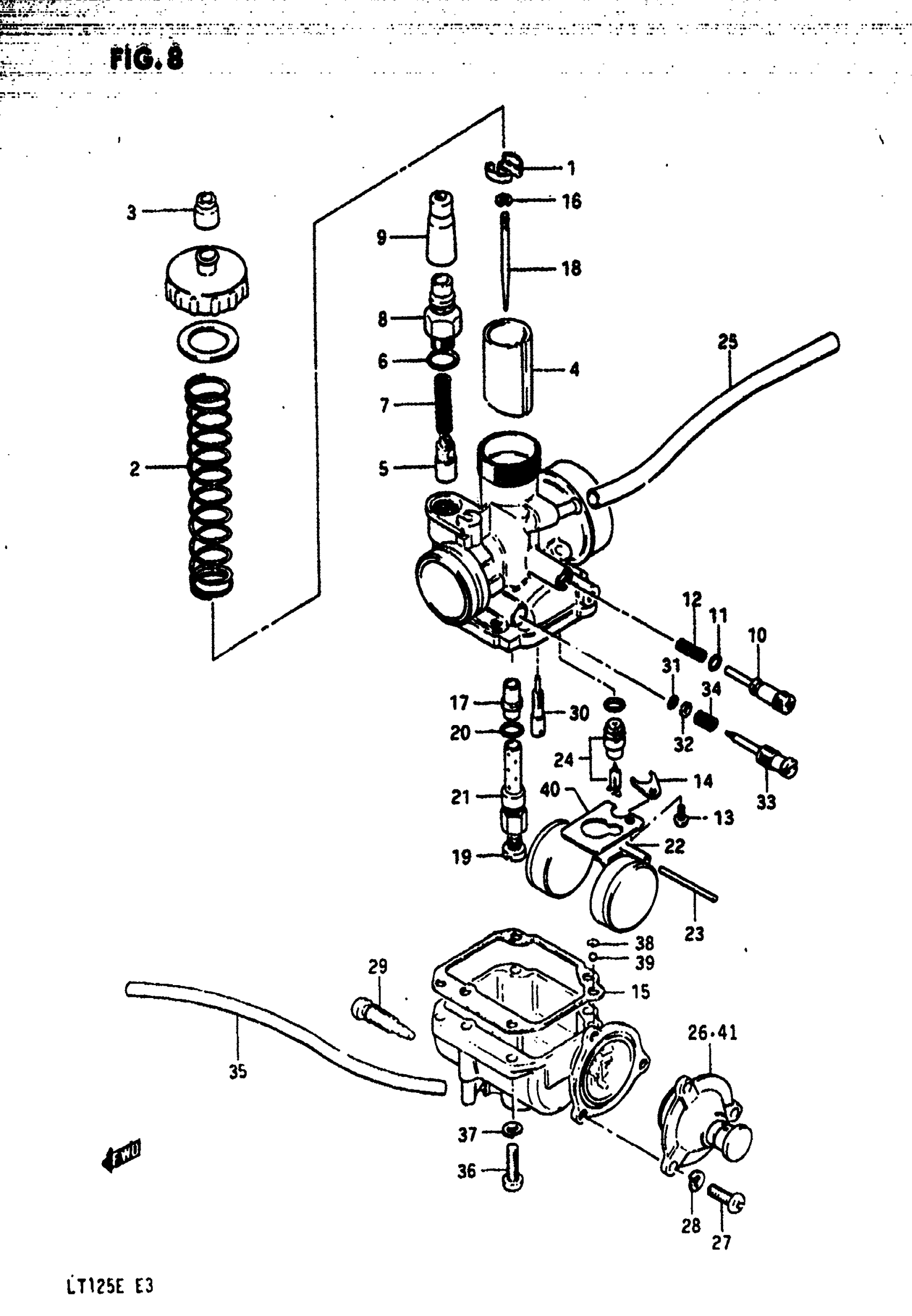
CARBURETOR (MODEL D)
Suzuki LT125 (1984) CARBURETOR (MODEL D) Diagram
#
Description
Price
0
CARBURETOR ASSY | Includes Item(s) 1 - 40 This part replaces 13200-18900.
13200-18912
Unavailable
4
VALVE, THROTTLE This part replaces 13551-18900.
13551-18910
Unavailable
15
GASKET
13251-18900
Unavailable
17
JET, NEEDLE (0~4)
09494-00388
Unavailable
18
NEEDLE, JET (4JR45-4) This part replaces 13383-18900.
13383-18A01
Unavailable
21
PIPE, BREADER
13385-47030
Unavailable
29
SCREW This part replaces 13247-18900.
13247-24500
Unavailable
38
CLIP
13232-18900
Unavailable
39
BALL,VALVE This part replaces 13596-18900.
13322-84000
Unavailable
