Partiron

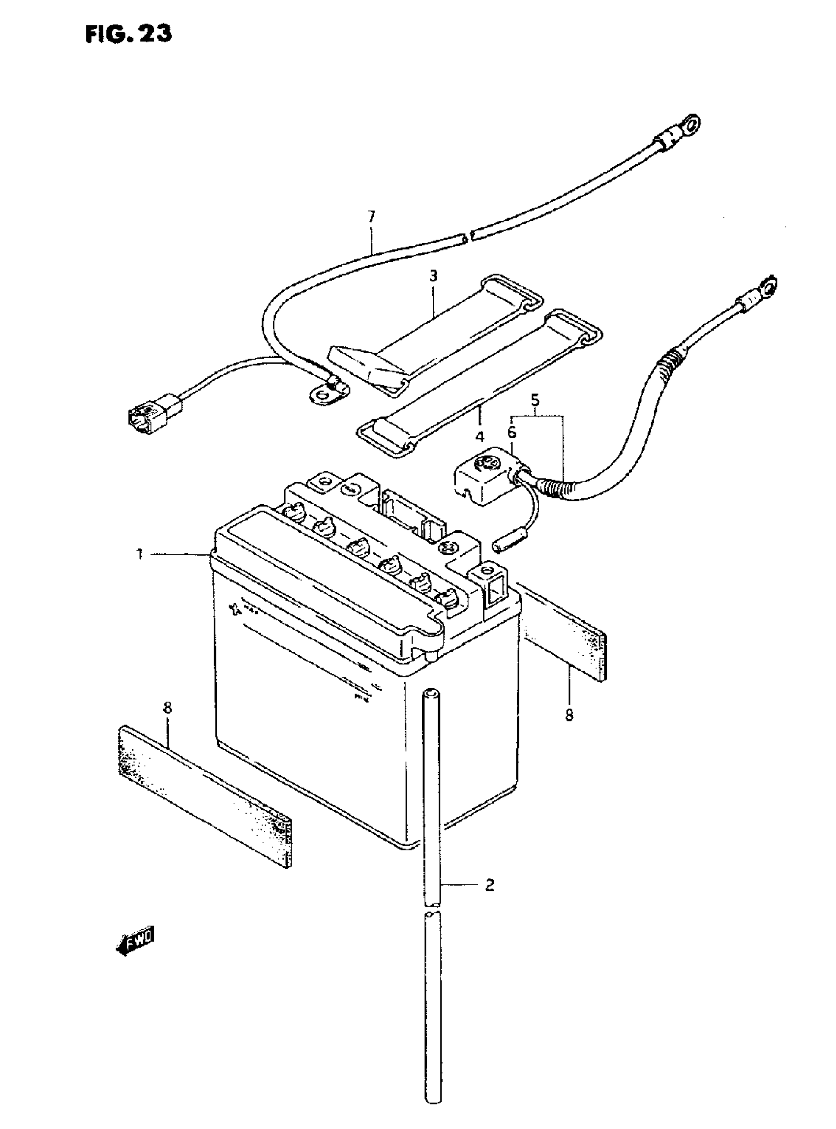
Suzuki LT-F250 (1997) BATTERY Diagram

#

Description
Price

1

BATTERY ASSY (12V,14AH) This part replaces 33610-24560.

33610-24500

$82.47

1

BATTERY ASSY (12V, 20AH) | E28

33610-24580

Unavailable

1

BATTERY ASSY (12V,20AH) | OPT This part replaces 33610-24550.

33610-24580

Unavailable

2

HOSE,BATTERY EX | L:600->550 This part replaces 33680-16A10.

33680-16A11

$6.78

3

BAND, BATTERY

09462-00040

$5.76

4

BAND, BATTERY | OPT, E28

09462-00087

$9.72

5

LEAD WIRE, BATTERY (+)

33820-19B02

$22.28

6

CAP, BATTERY (+)

33624-05A00

$5.72

7

LEAD WIRE, BATTERY (-)

33860-19B00

$25.75

8

CUSHION, BATTERY

33652-19B00

$6.03