- Partiron
- OEM Parts
- Suzuki
- All Terrain Vehicle
- 1993
- LT-F160 (1993)
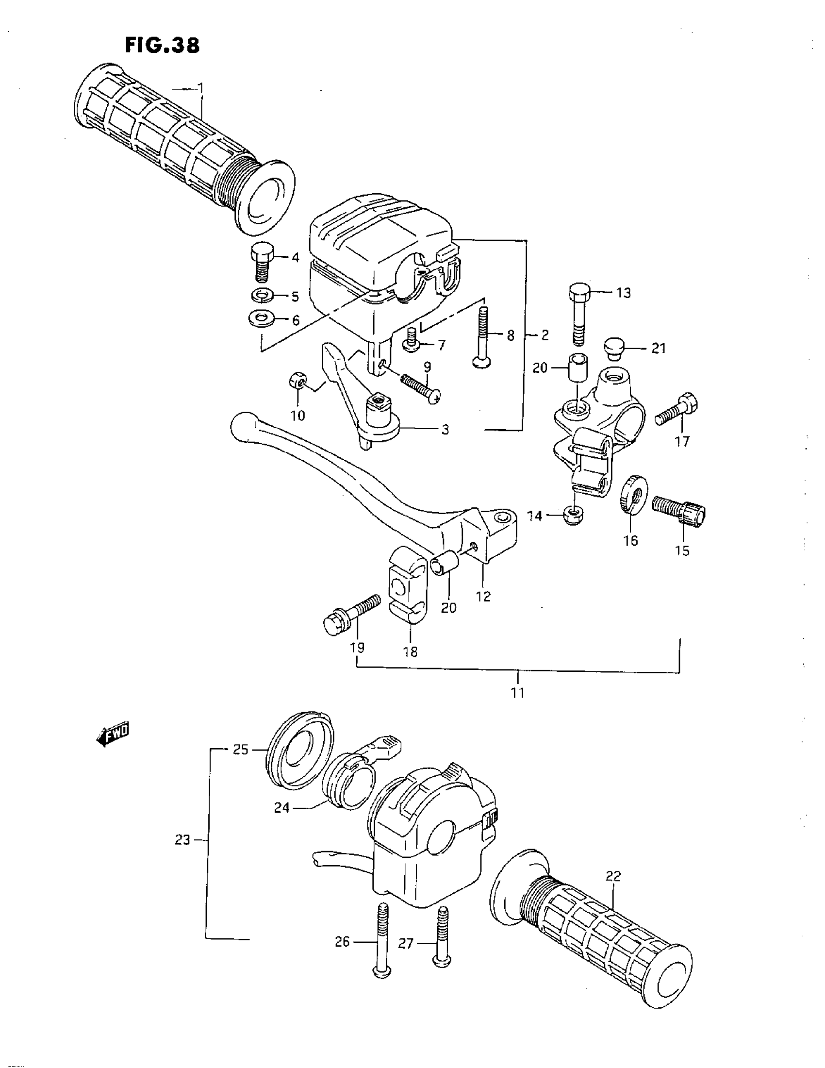
HANDLE SWITCH
Suzuki LT-F160 (1993) HANDLE SWITCH Diagram
#
Description
Price
11
LEVER ASSY, BRAKE
57300-02C00
Unavailable
23
SWITCH ASSY,HAN This part replaces 37400-02C00.
37400-02C01
Unavailable
