Partiron

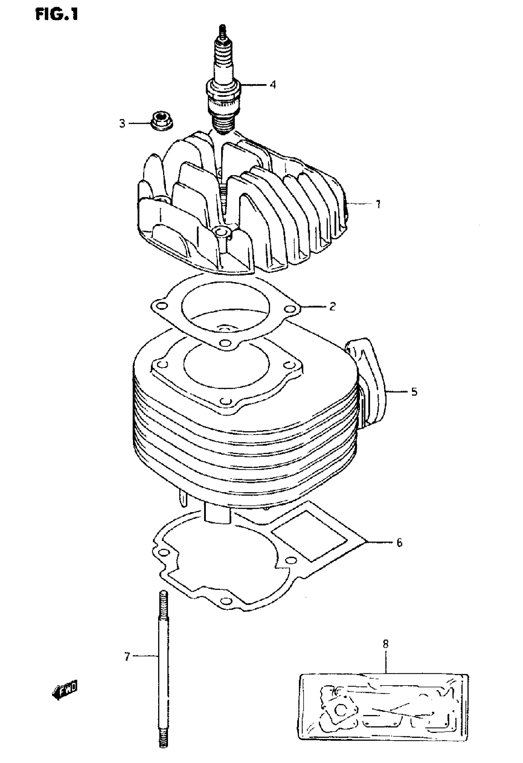
Suzuki LT-80 (1997) CYLINDER Diagram

#

Description
Price

1

HEAD, CYLINDER

11111-40B00

$131.98

2

GASKET, CYLINDER HEAD

11141-07910

$5.05

3

NUT This part replaces 08316-10063.

08316-1006B

$2.50

4

SPARK PLUG (NGK, BPR7HS)

09482-00255

$3.03

4

SPARK PLUG (ND, W22FPR)

09482-00244-111

Unavailable

5

CYLINDER

11210-40B01

$281.53

6

GASKET, CYLINDER

11241-40B10

$9.32

7

BOLT,STUD This part replaces 01421-06958.

01421-0695A

$2.32

8

GASKET SET This part replaces 11401-40885.

11401-40887

$78.50