- Partiron
- OEM Parts
- Suzuki
- Motorcycle
- 1993
- GSX1100F (1993)
TRANSMISSION
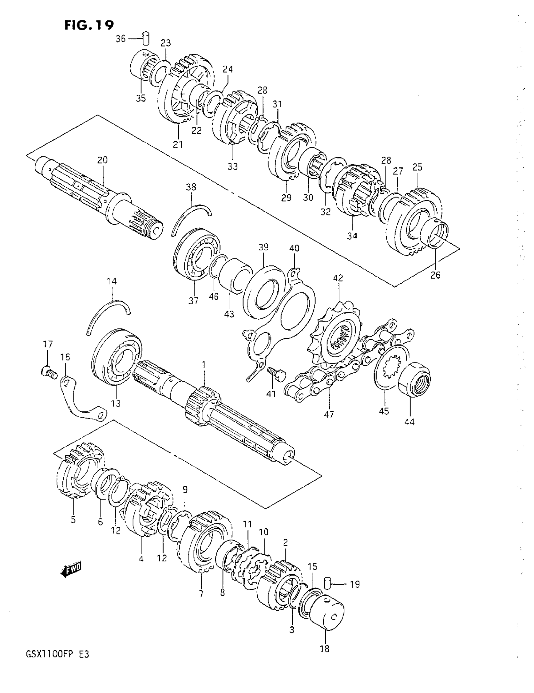
Suzuki GSX1100F (1993) TRANSMISSION Diagram
#
Description
Price
1
COUNTERSHAFT (NT:13) | MODEL J/K/L/M/N This part replaces 24121-48B01.
24121-48B10
Unavailable
1
C OUNTERSHAFT (NT:13) | MODEL P
24121-48B10
Unavailable
2
GEAR, 2ND DRIVE (NT:19) | MODEL J/K/L/M/N This part replaces 24221-48B00.
24221-48B10
Unavailable
2
GEAR, 2ND DRIVE (NT:19) | MODEL P
24221-48B10
Unavailable
4
GEAR,3RD DRIVE, This part replaces 24231-48B01.
24231-48B10
Unavailable
5
GEAR,4TH DRIVE, This part replaces 24241-48B00.
24241-48B50
Unavailable
7
GEAR,5TH DRIVE This part replaces 24251-48B02.
24251-48B30
Unavailable
8
BUSH
24252-48B00
Unavailable
20
DRIVESHAFT
24131-48B00
Unavailable
21
GEAR, 1ST DRIVEN (NT:31) | MODEL J/K/L/M/N This part replaces 24311-48B00.
24311-48B20
Unavailable
21
GEAR, 1ST DRIVEN (NT:31) | MODEL P This part replaces 24311-48B10.
24311-48B20
Unavailable
25
GEAR, 2ND DRIVEN (NT:31) | -E.NO.107046 ->24321-48B02 W/24351-48B03 This part replaces 24321-48B00.
24321-48B10
$150.78
29
GEAR,3RD DRIVEN | MODEL J/K This part replaces 24331-48B02.
24331-48B30
Unavailable
29
GEAR,3RD DRIVEN | MODEL L/M/N/P This part replaces 24331-48B03.
24331-48B30
Unavailable
32
WASHER, LH (T :2)
09167-28008
Unavailable
33
GEAR,4TH DRIVEN This part replaces 24341-06B01.
24341-06B30
Unavailable
34
GEAR, 5TH DRIVEN (NT:21) | -E.NO.107046 ->24351-48B03 W/24321-48B02 This part replaces 24351-48B01.
24351-48B06
$127.43
37
BEARING, LH
09262-25103
Unavailable
40
PLATE
24751-27A01
Unavailable
43
SPACER (25X34X19.7)
09180-25093
Unavailable
47
CHAIN, DRIVE (RK532GSV2X118LE | MODEL J This part replaces 27600-48B10-118.
27600-40C20-118
Unavailable
47
CHAIN, DRIVE (DID532ZLVX122LE) | MODEL K/L/M/N/P
27600-48B10-122
Unavailable
