- Partiron
- OEM Parts
- Suzuki
- Motorcycle
- 1993
- GSX1100F (1993)
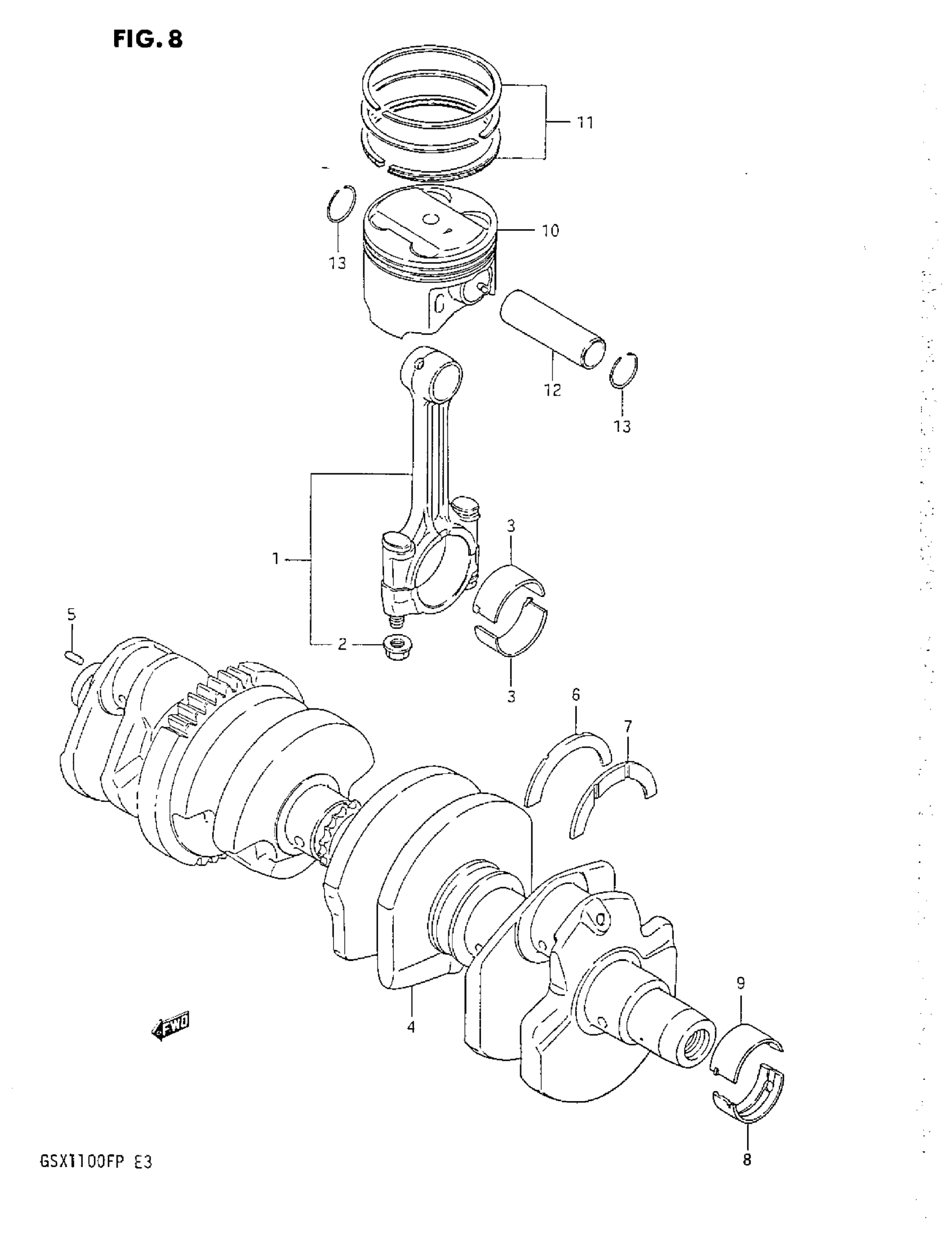
CRANKSHAFT
Suzuki GSX1100F (1993) CRANKSHAFT Diagram
#
Description
Price
1
ROD ASSY, CONNECTING | MODEL J This part replaces 12160-48B01.
12160-40C03
Unavailable
1
ROD ASSY, CONNECTING | MODEL K MODEL L -E.NO.106335 This part replaces 12160-40C01.
12160-40C03
Unavailable
1
ROD ASSY, CONNECTING | MODEL L E.NO.106336- MODEL M/N/P This part replaces 12160-40C02.
12160-40C03
Unavailable
4
NO DESCRIPTION AVAILABLE This part replaces 12000-48810.
12000-48820
Unavailable
7
BEARING, THRUST LH (PINK)
12228-48B00-0A0
Unavailable
10
PISTON
12111-48B04-0F0
Unavailable
10
PISTON SET,0S: | OPT This part replaces 12111-48B04-050.
12100-48B00-050
Unavailable
10
NO DESCRIPTION AVAILABLE | OPT This part replaces 12111-48B04-100.
12100-48B00-100
Unavailable
11
RING SET, PISTON (OS:0 5) | OPT
12140-48B20-050
Unavailable
11
RING SET, PISTON (OS:1.0 ) | OPT
12140-48B20-100
Unavailable
