- Partiron
- OEM Parts
- Suzuki
- Motorcycle
- 1982
- GS650GL (1982)
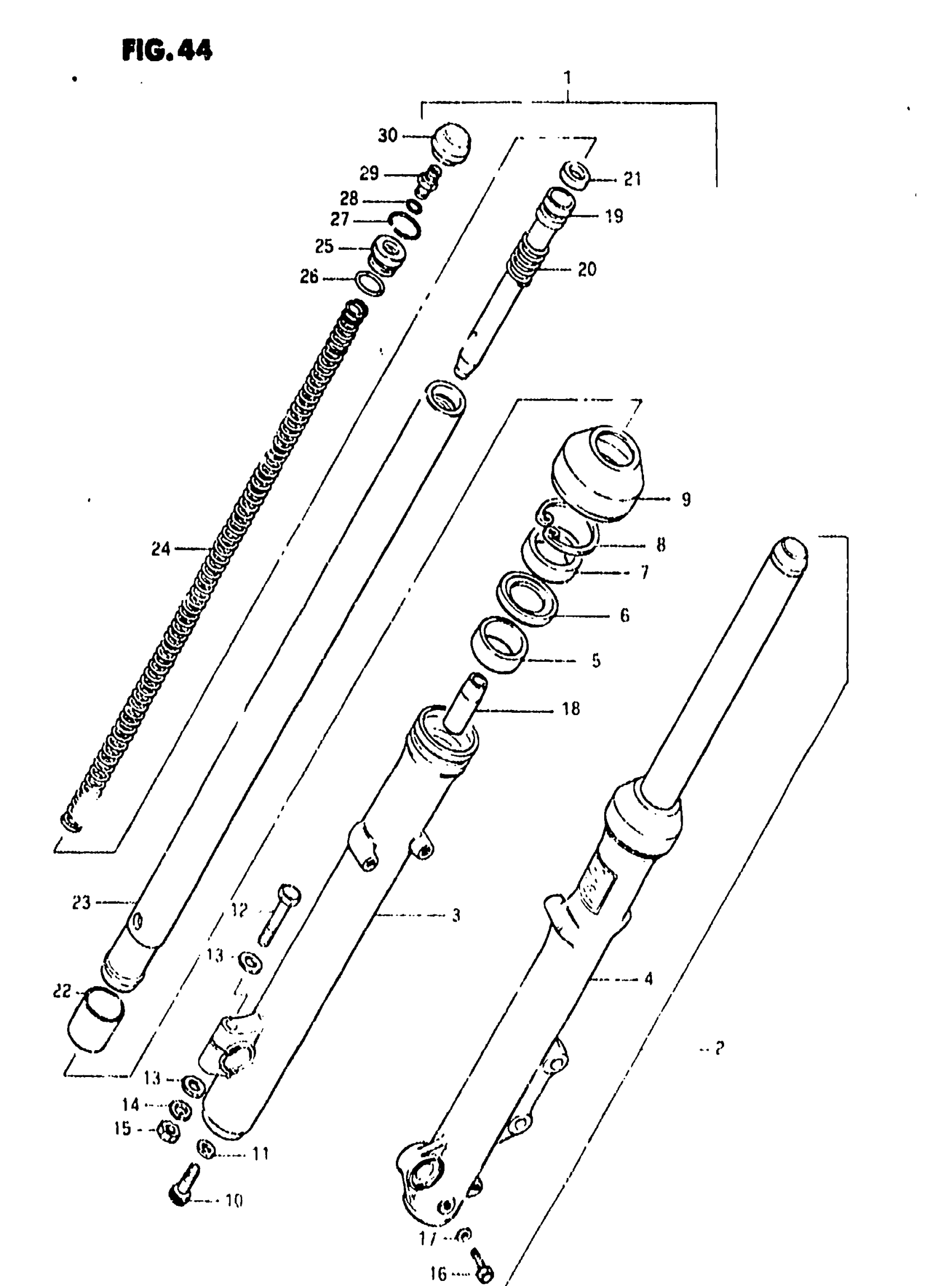
FRONT FORK (MODEL Z)
Suzuki GS650GL (1982) FRONT FORK (MODEL Z) Diagram
#
Description
Price
1
DUMPER ASSY, RH
51103-34420
Unavailable
2
DUMPER ASSY, LH | Includes Item(s) 3 - 30
51104-34420
Unavailable
3
OUTER TUBE, RH
51130-34420
Unavailable
4
OUTER TUBE, LH
51140-34420
Unavailable
9
DUST SEAL This part replaces 51571-34200.
51571-20520
Unavailable
18
PIECE, OIL LOCK
51195-45030
Unavailable
19
SPRING
51177-45030
Unavailable
20
CYLINDER
51146-45230
Unavailable
21
RING, PISTON
51196-31230
Unavailable
22
SLIDE METAL
51121-45400
Unavailable
23
INNER TUBE
51110-47510
Unavailable
24
SPRING
51171-34420
Unavailable
25
SEAT, SPRING
51172-34420
Unavailable
29
VALVE, AIR
51293-45440
Unavailable
30
CAP
51189-34420
Unavailable
