- Partiron
- OEM Parts
- Suzuki
- Motorcycle
- 1982
- GS650GL (1982)
CAM SHAFT-VALVE
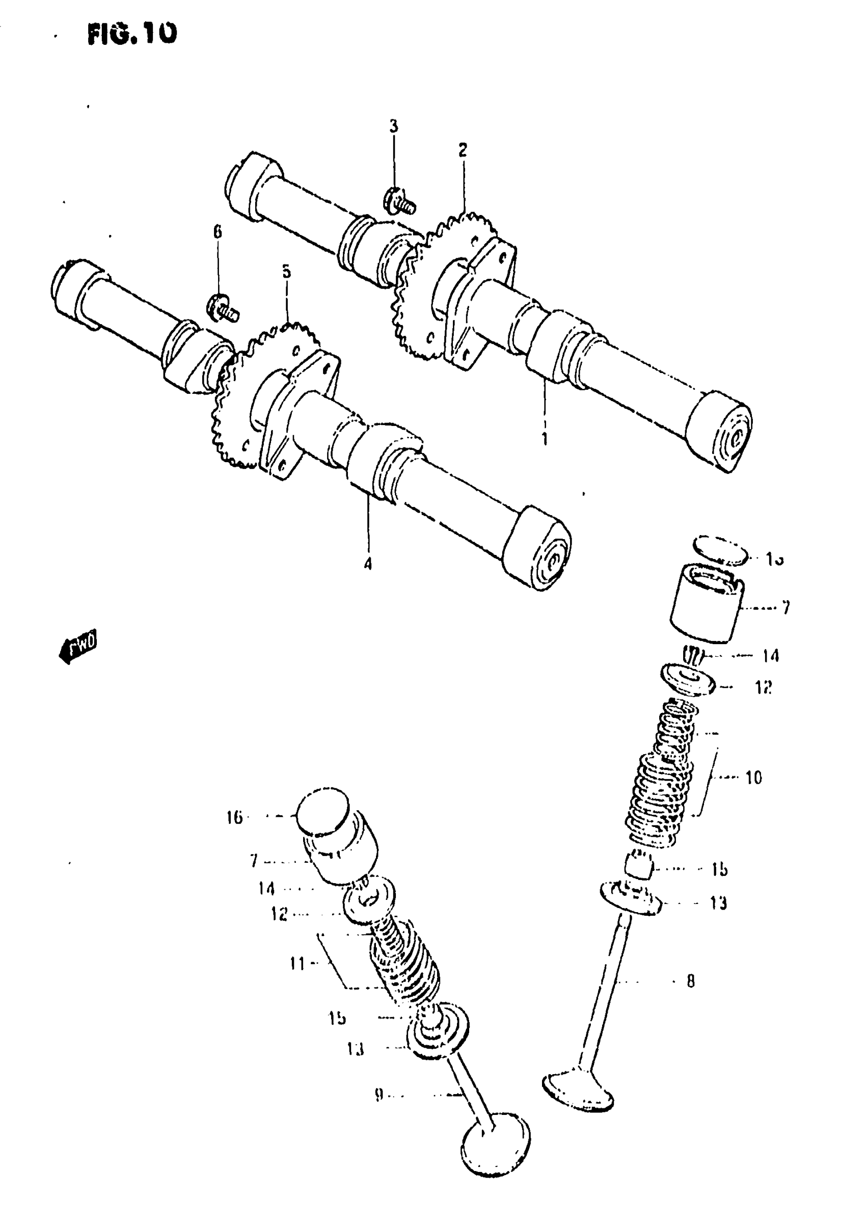
Suzuki GS650GL (1982) CAM SHAFT-VALVE Diagram
#
Description
Price
1
CAM SHAFT, INTAKE
12711-34202
Unavailable
2
SPROCKET
12741-34201
Unavailable
4
CAM SHAFT, EXHAUST
12721-34202
Unavailable
5
SPROCKET, EX. CAM SHAFT This part replaces 12751-34201.
12751-34202
Unavailable
9
VALVE, EXHAUST This part replaces 12912-34201.
12912-34203
Unavailable
11
SPRING SET, EXHAUST VALVE | F NO. 102676
12920-34210
Unavailable
16
SHIM, TAPPET (T:3.00) This part replaces 12892-45017.
12892-45000-300
Unavailable
17
SHIM SET | NOT SHOWN; Includes Item(s) 18 This part replaces 12800-45810.
12800-45811
Unavailable
18
CASE, TAPPET SHIM | NOT SHOWN This part replaces 99000-69480.
99000-69521
Unavailable
