Partiron

Suzuki GS650GL (1982) BATTERY Diagram

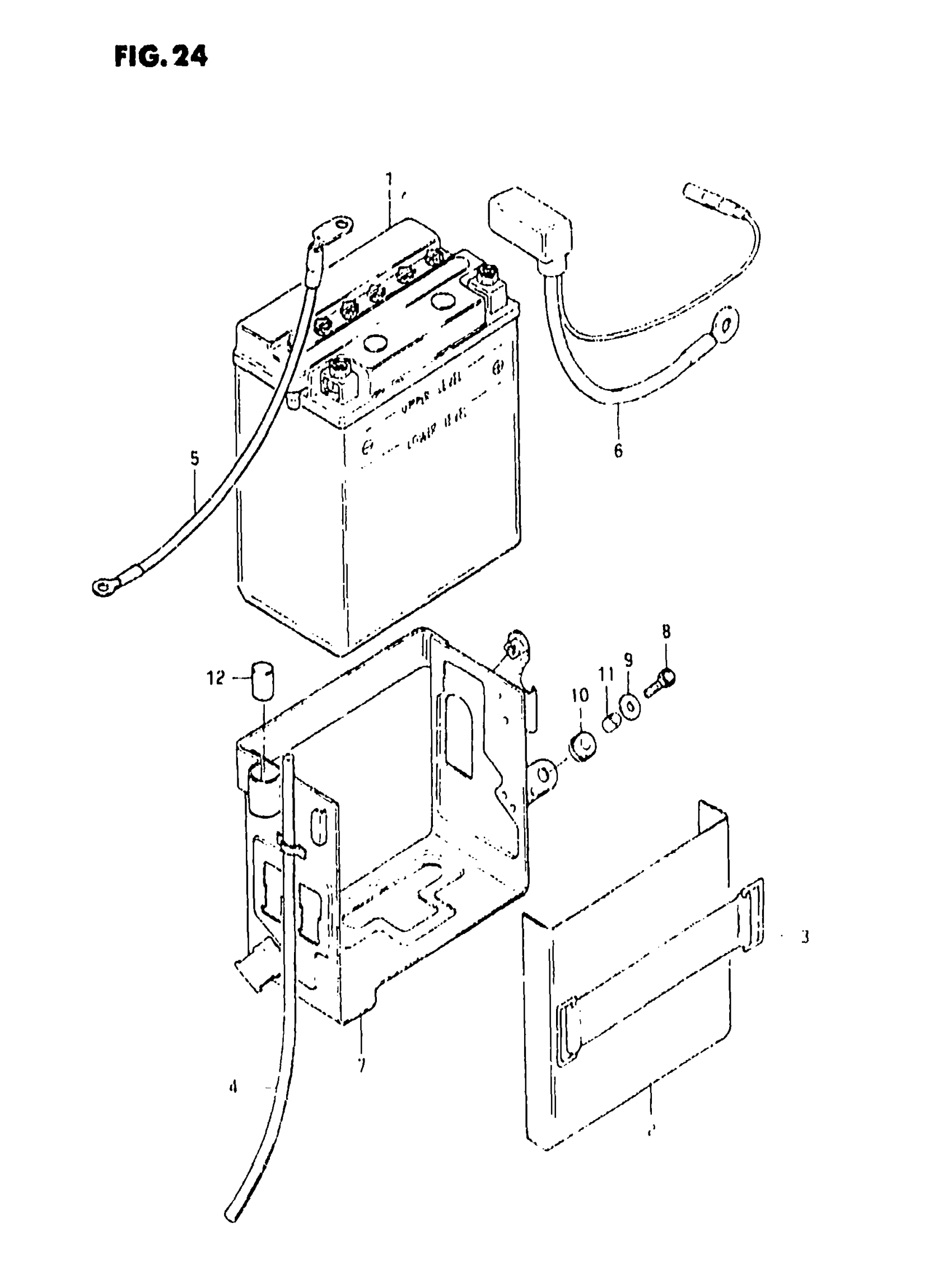
#

Description
Price

1

BATTERY (12V,14AH)

33610-49210

Unavailable

2

COVER, BATTERY

33661-34200

Unavailable

3

HAND

09462-00043

$4.11

4

HOSE,BATTERY EX This part replaces 33680-31003.

33680-16A11

$6.78

5

LEAD WIRE, (-)

33850-34200

Unavailable

6

LEAD WIRE, (+)

33820-34300

Unavailable

7

HOLDER, BATTERY

41540-34200

Unavailable

8

BOLT, CANISTER This part replaces 01107-06168.

01500-06167

$1.97

9

WASHER (6.5X20X1.6) This part replaces 09160-06020.

09160-06066

$1.89

10

CUSHION (8.5X20X8) This part replaces 09320-08007.

09320-08510

$1.97

11

SPACER

09180-06038

$1.98

12

CUSHION

09329-05006

$2.38