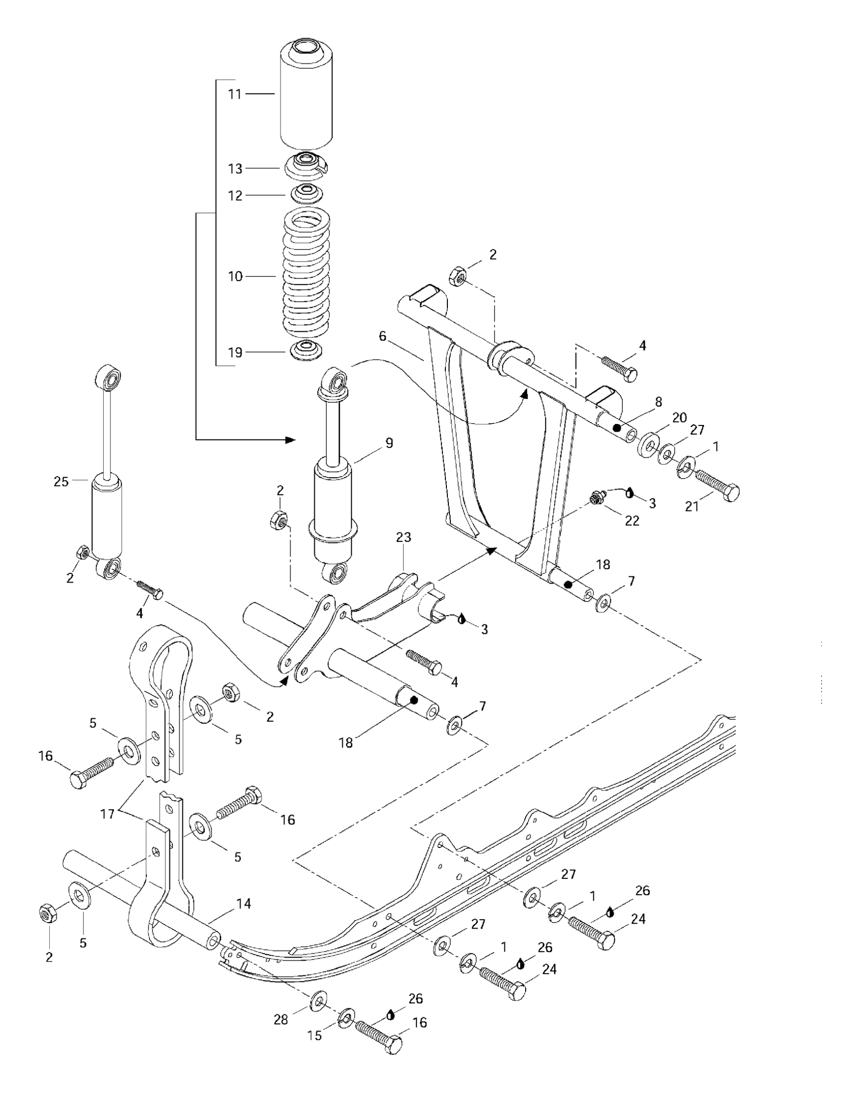
Ski-Doo Formula S, 1997 Front Arm, Rear Suspension Diagram
#
Description
Price
1
WASHER-LOCK SPRING DIN.128A-A2 - Call your local BRP dealership This part replaces 224701188.
234100602
Unavailable
3
LITHIUM GREASE, 400 GR - Call your local BRP dealership | Skandic WT LC.
413706100
Unavailable
5
WASHER - Call your local BRP dealership
517078700
Unavailable
6
Welded Front Arm
503167400
Unavailable
7
Hard Washer | Formula DLX 500 LC.
503007900
Unavailable
8
SHAFT - Call your local BRP dealership
503190387
Unavailable
9
Shock
503188903
Unavailable
10
Center Spring
414974500
Unavailable
17
Stopper Strap | Formula Z 583. Formula 583 Deluxe.
570038800
Unavailable
18
Axle Wheel | Formula 500. Formula 500 Deluxe.
503152800
Unavailable
19
GUIDE_SPRING - Call your local BRP dealership
503165100
Unavailable
20
Cushion | Formula 500. Formula 500 Deluxe.
414894900
Unavailable
21
HEX. SCREW M10 X 60 - Call your local BRP dealership
207006044
Unavailable
23
Welded Shock Support
503167500
Unavailable
25
SHOCK - Call your local BRP dealership
414866500
Unavailable
