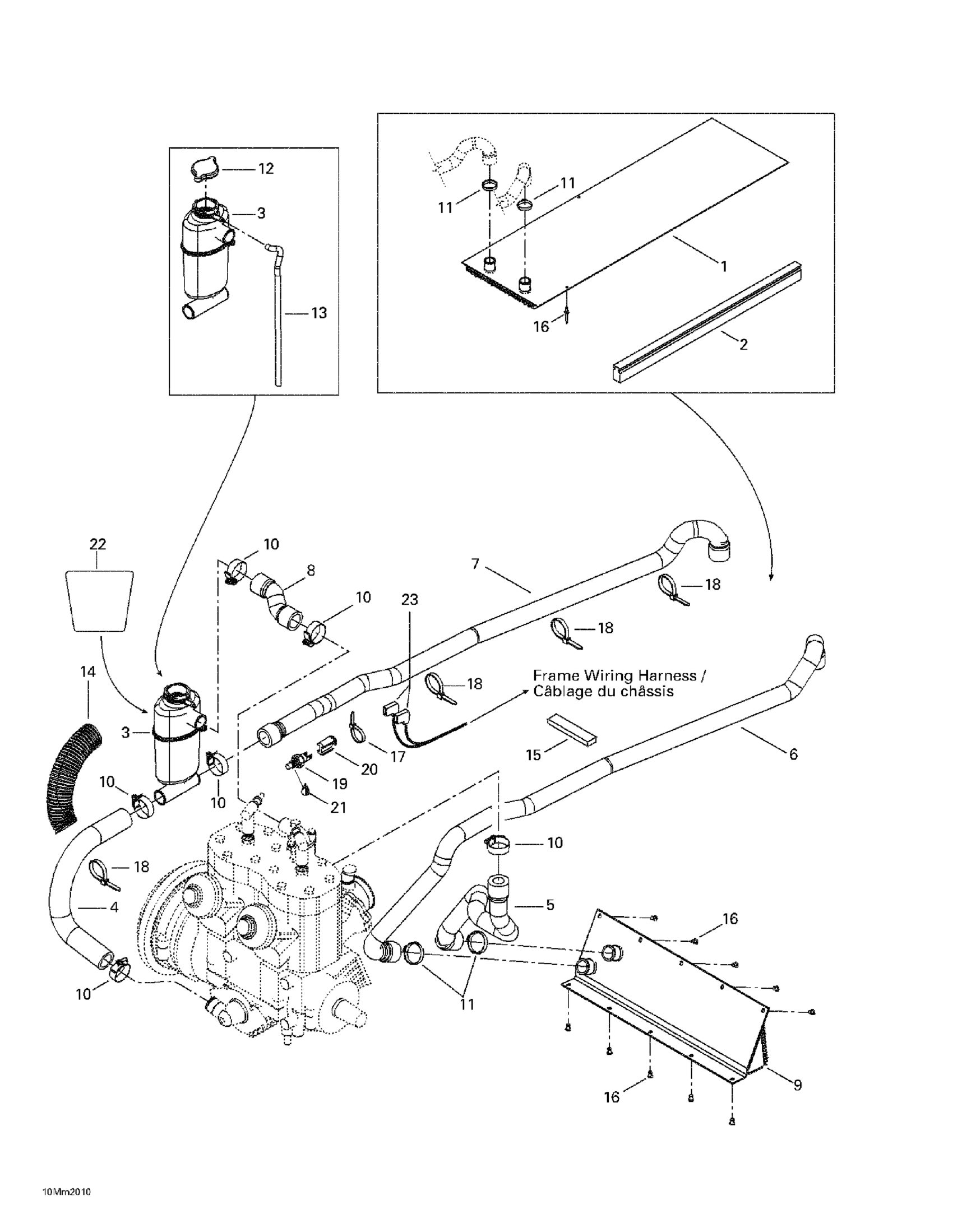
Ski-Doo Formula Deluxe 600/700, 2000 Cooling System Diagram
#
Description
Price
1
Rear Radiator | Includes 29 - 30.
517296300
Unavailable
2
Radiator Protector
518321655
Unavailable
4
Engine Inlet Hose
509000001
Unavailable
5
ENGINE OUTLET HOSE - Call your local BRP dealership | Grand Touring 500.
509000046
Unavailable
6
RADIATOR INLET HOSE - Call your local BRP dealership | Grand Touring 500.
509000003
Unavailable
7
Radiator Outlet Hose | Grand Touring 500.
509000004
Unavailable
8
Deviation Hose
509000005
Unavailable
9
Front Radiator | Grand Touring 500.
517297100
Unavailable
10
TRIDON GEAR CLAMP - Call your local BRP dealership
408800400
Unavailable
14
Was 415084700 Protective Shield | Grand Touring 500.
219704413
Unavailable
19
Temperature Sensor | Grand Touring 500.
512047000
Unavailable
Temperature Sensor | Formula Deluxe 600. Formula Deluxe 700.
414728700
Unavailable
20
Connector Plug | Grand Touring 500.
515175297
Unavailable
22
Reflection Sheet
509000068
Unavailable
