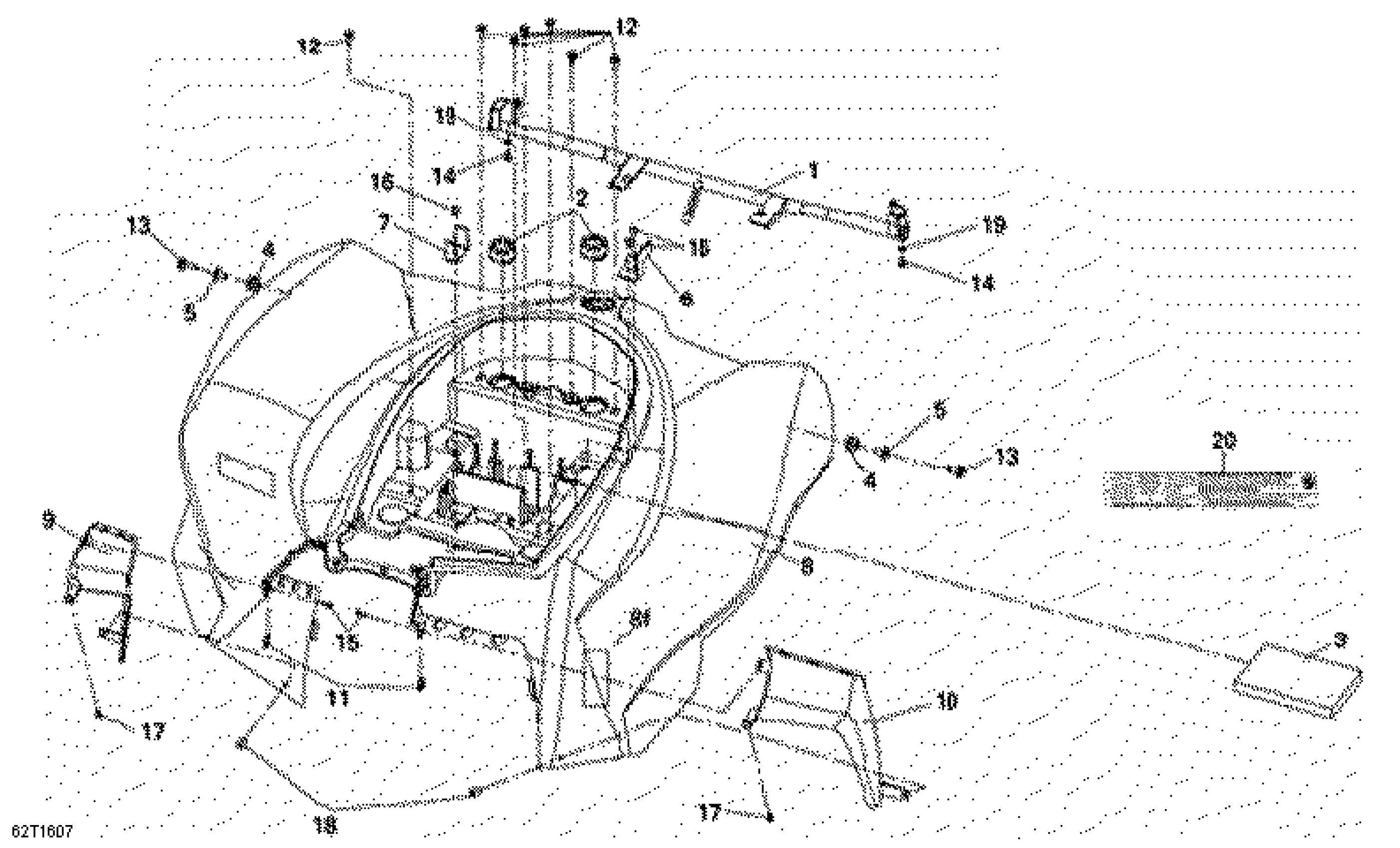
Can-Am DS 250, 2016 Rear Fender International Diagram
#
Description
Price
8m
Tire Pressure Warning Label
S87503RCCE00
Unavailable
8h
Passenger Warning Lable
S87504RCCE00
Unavailable
#
8m
S87503RCCE00
Unavailable
8h
S87504RCCE00
Unavailable
Edit ride
