Partiron

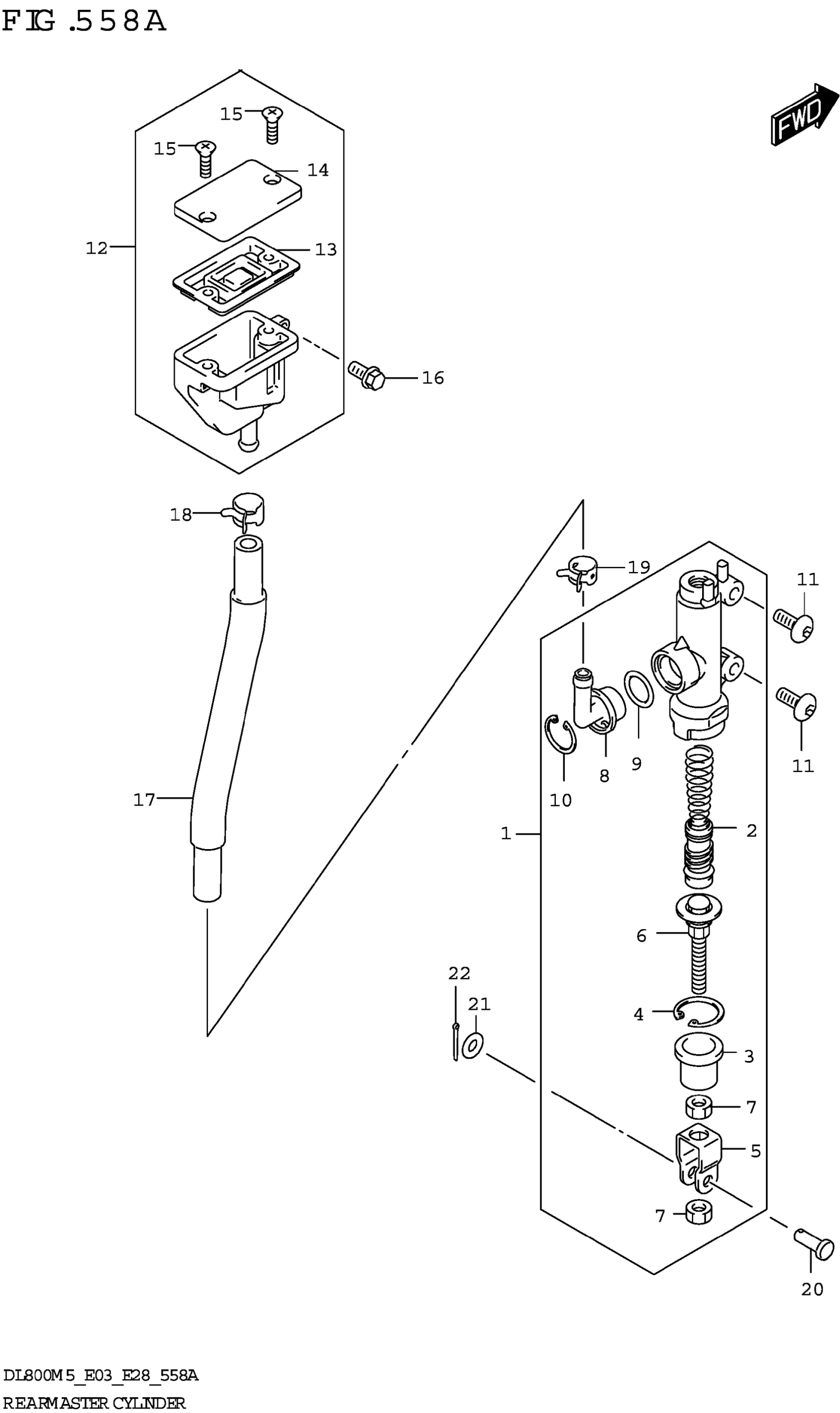
Suzuki DL800RQM5 (2025) REAR MASTER CYLINDER Diagram

#

Description
Price

1

CYLINDER ASSY,RR MASTER

69600-47H10

$312.98

2

.PISTON/CUP SET

69600-34810

$56.48

3

.BOOT

69691-00A00

$5.30

4

.CIRCLIP

69665-47H00

$5.02

5

.YOKE

69692-44H00

$16.87

6

.ROD,PUSH

69670-40A00

$25.62

7

.NUT

69693-05A00

$1.96

8

.CONNECTOR

69672-00B20

$7.01

9

.O-RING

69686-34200

$2.93

10

.CIRCLIP

69674-00B20

$3.97

11

SCREW (6X16)

09139-06139

$3.23

12

TANK ASSY,RR RESERVOIR

69740-01D02

$70.49

13

.DIAPHRAGM

59667-04700

$9.78

14

.CAP

59669-05D00

$16.76

15

.SCREW

69689-04A00

$1.78

16

BOLT

01547-0612A

$2.03

17

HOSE,RR RESERVOIR TANK

69730-25L30

$18.12

18

CLIP (ID:13.2)

09401-13417

$2.26

19

CLIP (ID:12)

09401-12404

$2.34

20

PIN (6X18.2) This part replaces 09200-06037.

09200-06068

$4.11

21

WASHER

08322-0106A

$1.84

22

PIN

04111-2015A

$1.49