- Partiron
- OEM Parts
- Suzuki
- Motorcycle
- 2025
- DL800RQM5 (2025)
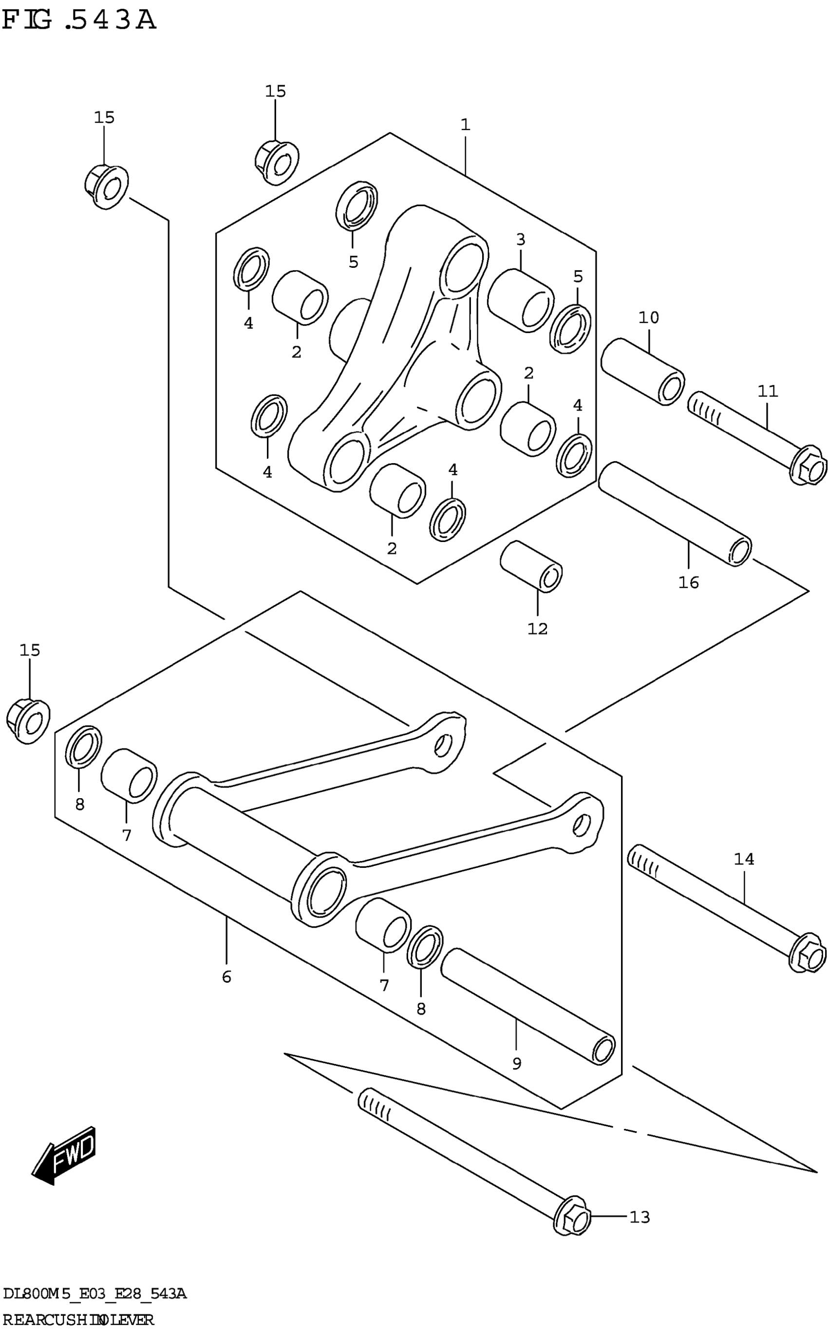
REAR CUSHION LEVER
Suzuki DL800RQM5 (2025) REAR CUSHION LEVER Diagram
#
Description
Price
13
BOLT (L:155)
09103-12031
Unavailable
REAR CUSHION LEVER
#
13
09103-12031
Unavailable
Edit ride
