- Partiron
- OEM Parts
- Suzuki
- Motorcycle
- 2025
- DL1050RJM5 (2025)
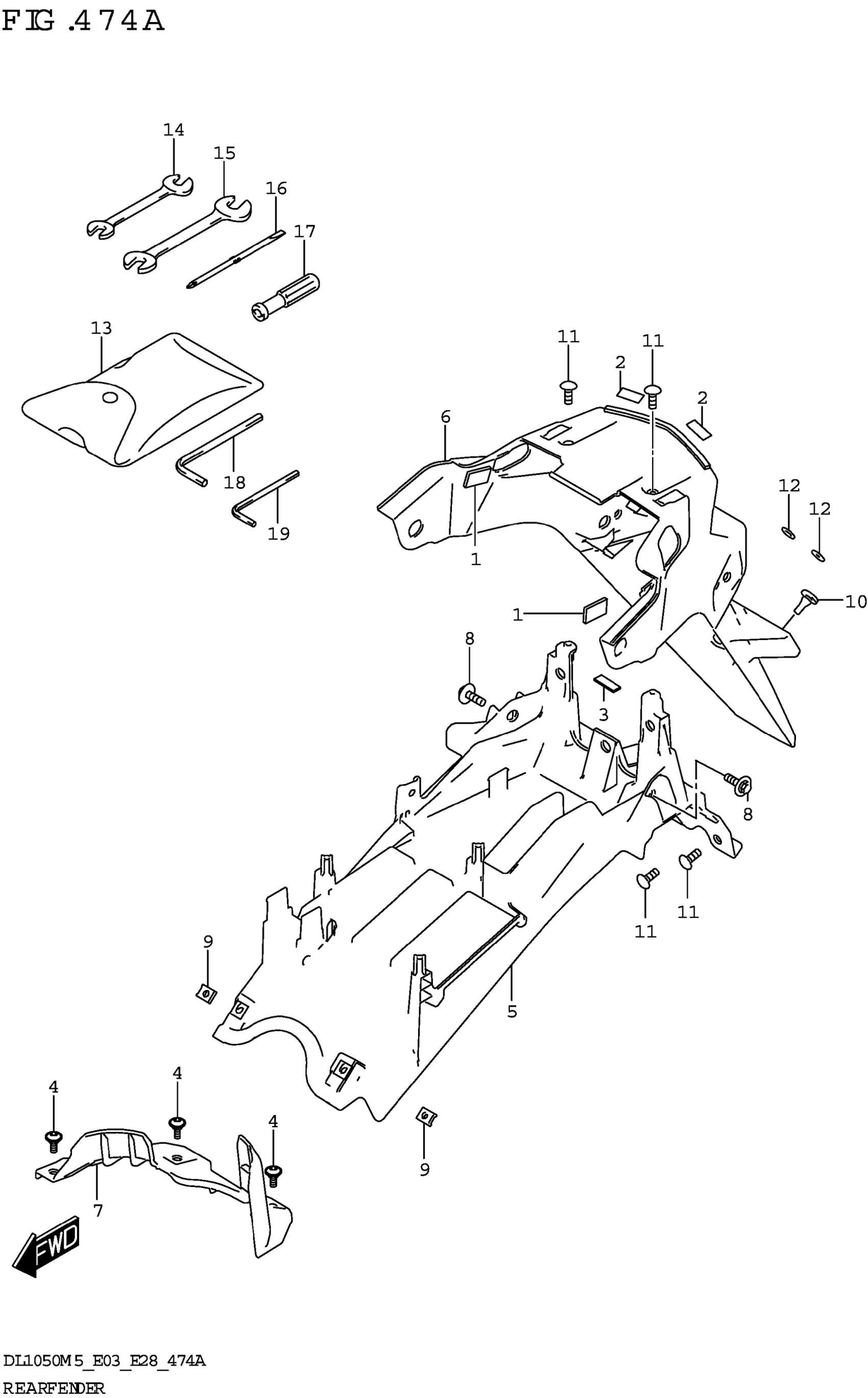
REAR FENDER (DL1050RR)
Suzuki DL1050RJM5 (2025) REAR FENDER (DL1050RR) Diagram
#
Description
Price
2
PROTECTOR,WIRING HARNESS (10X | 5X0.13)
36920-37H00
Unavailable
15
SPANNER,OPEN (14X17)
09813-00031
Unavailable
