- Partiron
- OEM Parts
- Suzuki
- Motorcycle
- 2025
- DL1050RJM5 (2025)
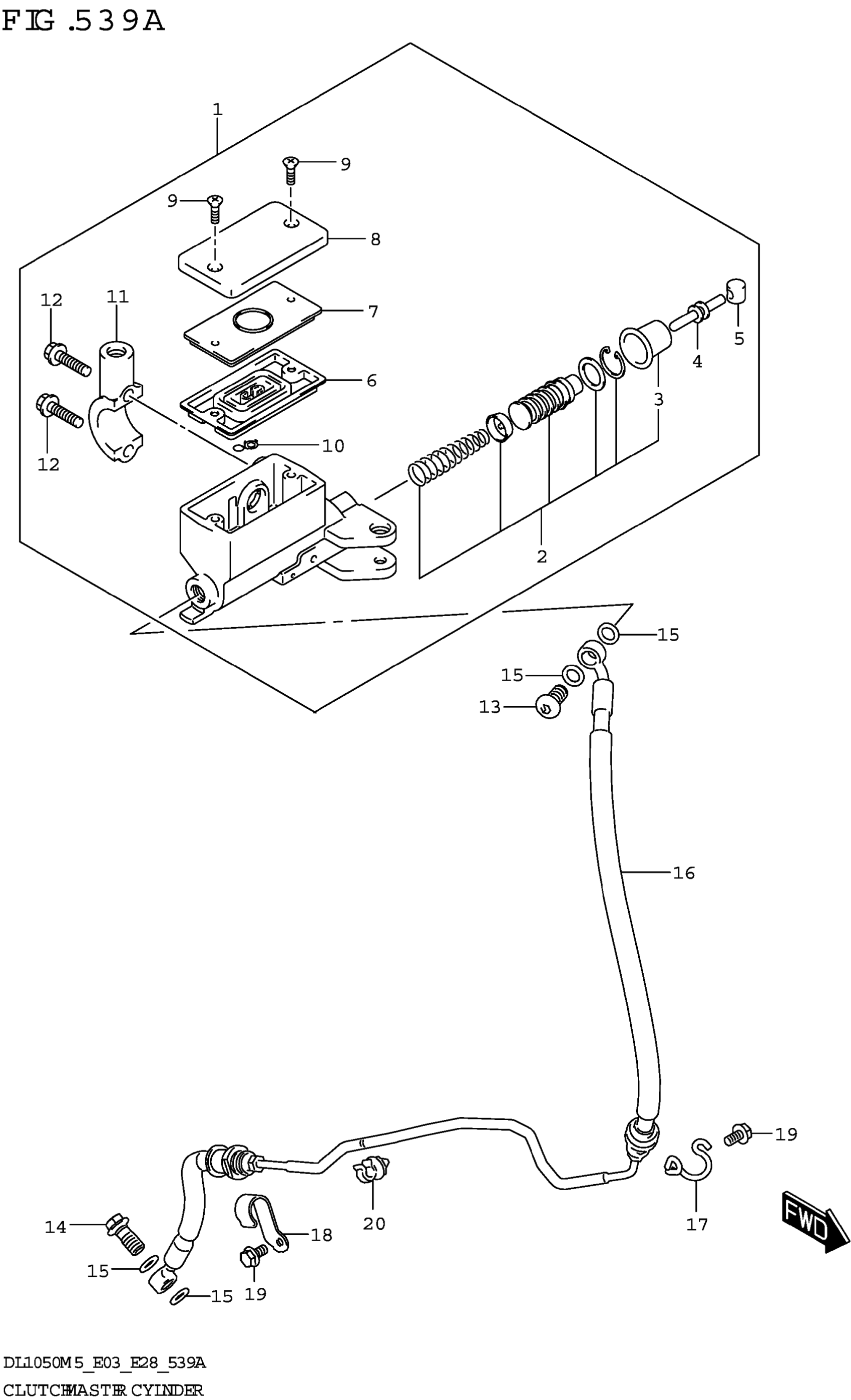
CLUTCH MASTER CYLINDER (DL1050RR)
Suzuki DL1050RJM5 (2025) CLUTCH MASTER CYLINDER (DL1050RR) Diagram
#
Description
Price
4
.ROD,PUSH
59871-23H10
Unavailable
