- Partiron
- OEM Parts
- Honda
- MOTORCYCLE
- Models With No Year
- CT90K5A MOTORCYCLE, JPN, VIN# CT90-1500001
STEERING STEM + FRONT FENDER
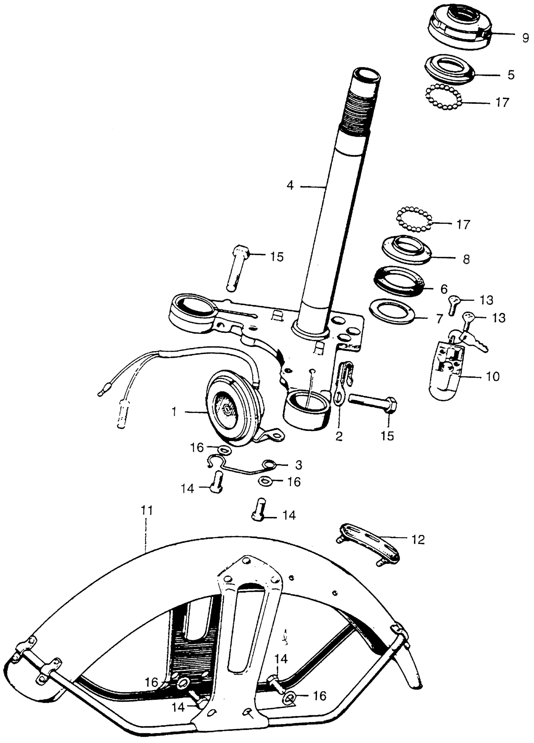
Honda CT90K5A MOTORCYCLE, JPN, VIN# CT90-1500001 STEERING STEM + FRONT FENDER Diagram
#
Description
Price
1
HORN ASSY.
38100-051-691
Unavailable
2
CLIP, FR. BRAKE CABLE
45465-028-000
Unavailable
3
GUIDE, SPEEDOMETER CABLE (NOT AVAILABLE)
45470-056-000
Unavailable
4
STEM, STEERING *YR6* (MARS ORANGE)
53200-102-000JL
Unavailable
10
LOCK, HANDLEBAR (NOT AVAILABLE)
35010-202-000
Unavailable
10
LOCK, HANDLEBAR (NOT AVAILABLE) This part replaces 35010-212-000.
35010-202-000
Unavailable
10
LOCK, HANDLEBAR (NOT AVAILABLE) This part replaces 35010-259-000.
35010-202-000
Unavailable
10
LOCK, HANDLEBAR (NOT AVAILABLE) This part replaces 35100-202-000.
35010-202-000
Unavailable
10
LOCK, HANDLEBAR (NOT AVAILABLE) This part replaces 53600-200-000.
35010-202-000
Unavailable
10
LOCK, HANDLEBAR (NOT AVAILABLE) This part replaces 53600-202-003.
35010-202-000
Unavailable
11
FENDER, FR. *YR6* (MARS ORANGE) (NOT AVAILABLE)
61100-102-700JL
Unavailable
12
PROTECTOR, FR. FENDER
61110-102-700
Unavailable
