- Partiron
- OEM Parts
- Honda
- MOTORCYCLE
- Models With No Year
- CB550A MOTORCYCLE, JPN, VIN# CB550K-1000001
CYLINDER + HEAD
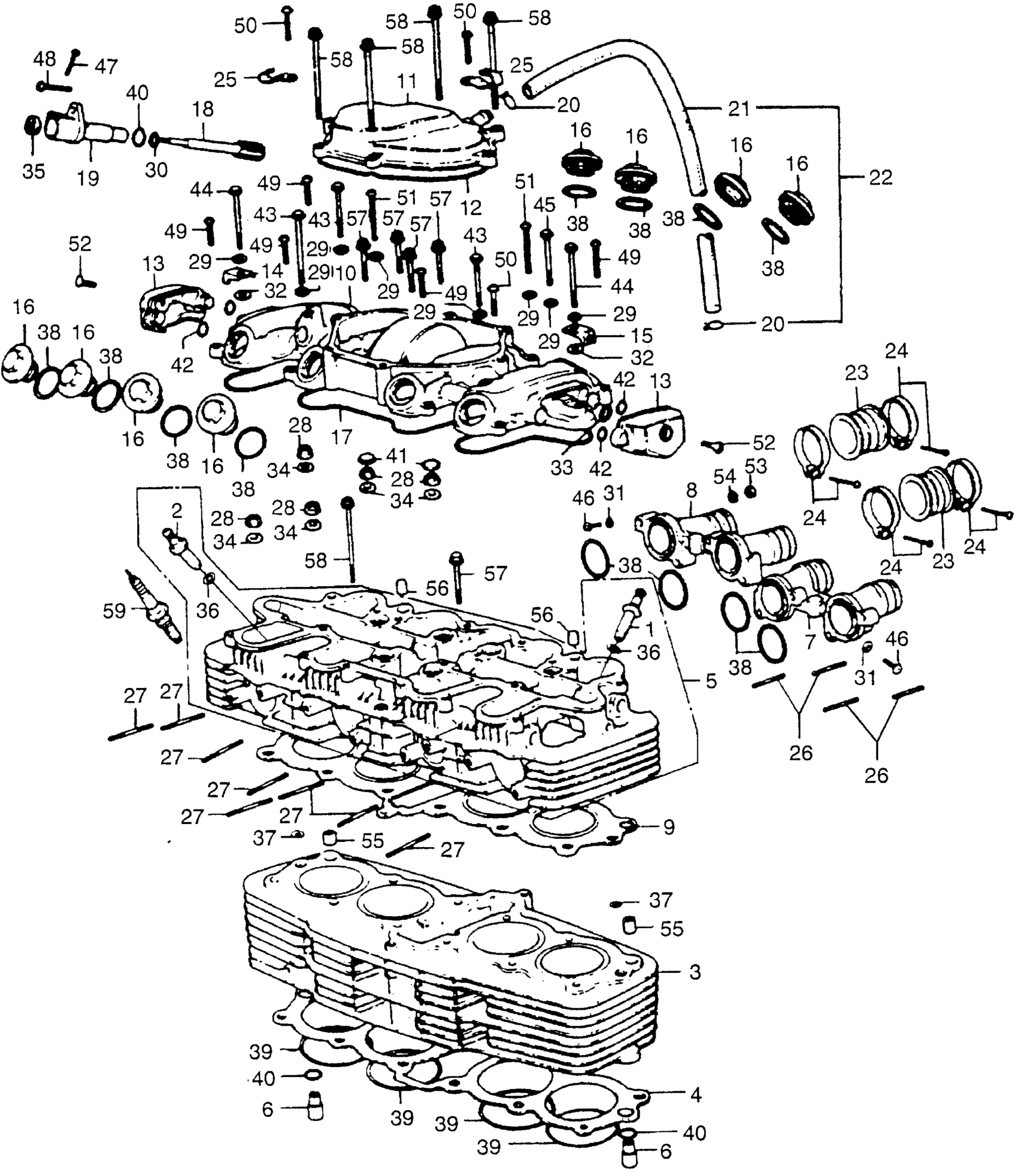
Honda CB550A MOTORCYCLE, JPN, VIN# CB550K-1000001 CYLINDER + HEAD Diagram
#
2
GUIDE, EX. VALVE This part replaces 12023-323-300.
12023-324-405
Unavailable
2
GUIDE, EX. VALVE
12023-324-405
Unavailable
3
CYLINDER (NOT AVAILABLE) This part replaces 12100-374-000.
12100-374-010
Unavailable
3
CYLINDER (NOT AVAILABLE)
12100-374-010
Unavailable
5
CYLINDER HEAD
12200-374-000
Unavailable
6
VALVE, OIL CONTROL (NOT AVAILABLE)
12238-323-000
Unavailable
7
MANIFOLD A, IN. (NOT AVAILABLE)
12241-323-000
Unavailable
8
MANIFOLD B, IN. (NOT AVAILABLE)
12242-323-000
Unavailable
9
GASKET, CYLINDER HEAD This part replaces 12251-323-005.
12251-374-306
Unavailable
9
GASKET, CYLINDER HEAD This part replaces 12251-374-000.
12251-374-306
Unavailable
9
GASKET, CYLINDER HEAD This part replaces 12251-374-005.
12251-374-306
Unavailable
9
GASKET, CYLINDER HEAD
12251-374-306
Unavailable
10
COVER, CYLINDER HEAD This part replaces 12310-323-000.
12310-323-010
Unavailable
10
COVER, CYLINDER HEAD
12310-323-010
Unavailable
11
COVER, BREATHER (NOT AVAILABLE)
12320-374-000
Unavailable
12
GASKET, BREATHER COVER
12329-323-000
Unavailable
13
COVER, CYLINDER HEAD SIDE (NOT AVAILABLE)
12330-323-000
Unavailable
14
PLATE A, CYLINDER HEAD SIDE COVER SETTING (NOT AVAILABLE)
12335-323-000
Unavailable
15
PLATE B, CYLINDER HEAD SIDE COVER SETTING (NOT AVAILABLE)
12336-323-000
Unavailable
16
CAP, VALVE ADJ.
12361-300-000
Unavailable
17
GASKET, CYLINDER HEAD COVER
12391-323-000
Unavailable
18
GEAR, TACHOMETER (NOT AVAILABLE)
12431-323-000
Unavailable
19
CAP, TACHOMETER
12451-323-000
Unavailable
21
TUBE SET, BREATHER (NOT AVAILABLE) | Use up to Engine SN 1018184 This part replaces 15763-374-000.
15763-374-305
Unavailable
21
TUBE SET, BREATHER (NOT AVAILABLE) | Use up to Engine SN 1018184
15763-374-305
Unavailable
22
TUBE SET, BREATHER (NOT AVAILABLE) | Use up to Engine SN 1018184
15763-374-305
Unavailable
25
CLIP, COIL CABLE
32906-028-000
Unavailable
26
BOLT, STUD (6X32) (NOT AVAILABLE)
90043-323-300
Unavailable
30
WASHER, THRUST (7MM)
90451-292-000
Unavailable
33
WASHER, THRUST (6.5MM) (NOT AVAILABLE)
90485-001-000
Unavailable
43
BOLT, HEX. (6X40) This part replaces 92000-06040.
92101-06040-0A
Unavailable
43
BOLT, HEX. (6X40) This part replaces 92000-06040-0A.
92101-06040-0A
Unavailable
43
BOLT, HEX. (6X40)
92101-06040-0A
Unavailable
