- Partiron
- OEM Parts
- Honda
- MOTORCYCLE
- Models With No Year
- CB550A MOTORCYCLE, JPN, VIN# CB550K-1000001
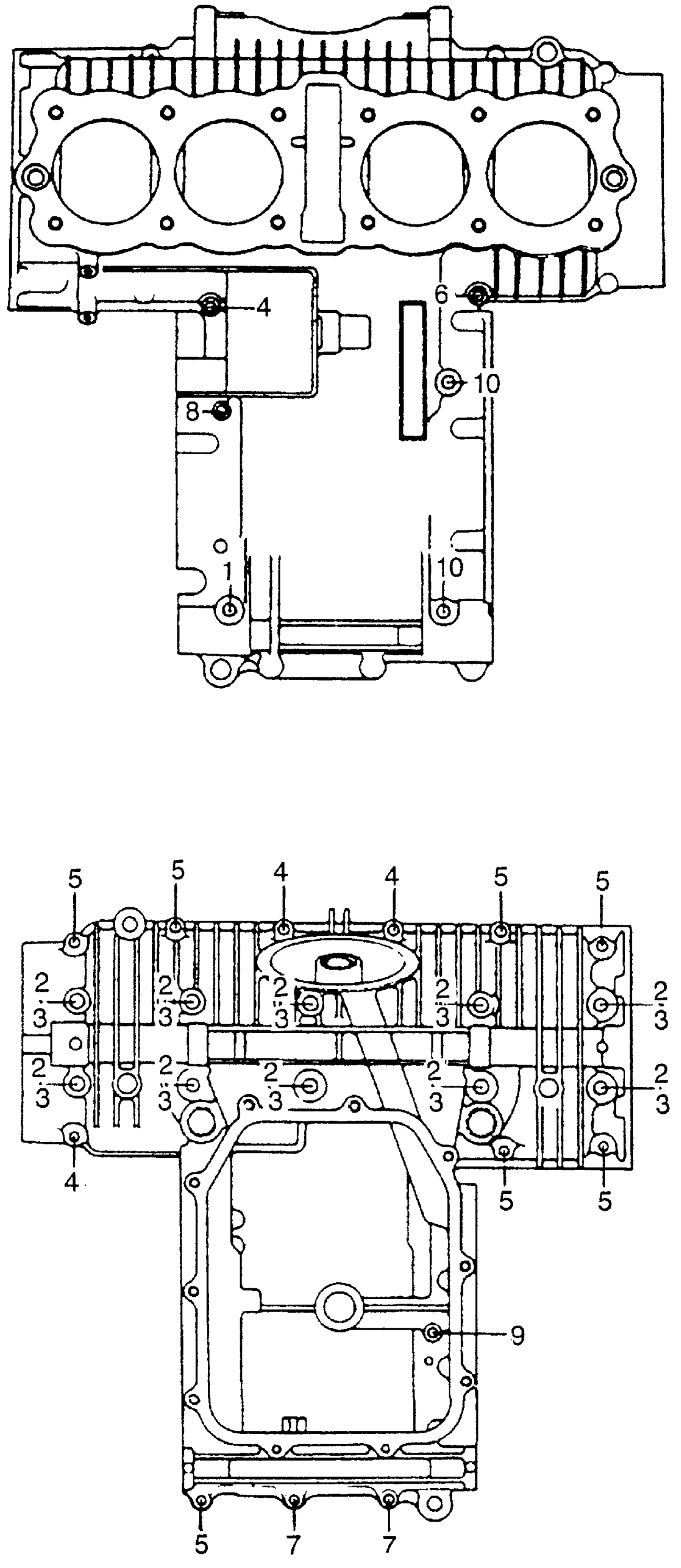
BOLT + WASHER (CRANKCASE)
Honda CB550A MOTORCYCLE, JPN, VIN# CB550K-1000001 BOLT + WASHER (CRANKCASE) Diagram
#
Description
Price
1
BOLT, FLANGE (8X145) (NOT AVAILABLE)
90011-323-000
Unavailable
2
BOLT, HEX. (8X100) (NOT AVAILABLE)
90084-323-000
Unavailable
