- Partiron
- OEM Parts
- Honda
- MOTORCYCLE
- Models With No Year
- CB500K1A MOTORCYCLE, JPN, VIN# CB500-2000001
SEAT K1-K2
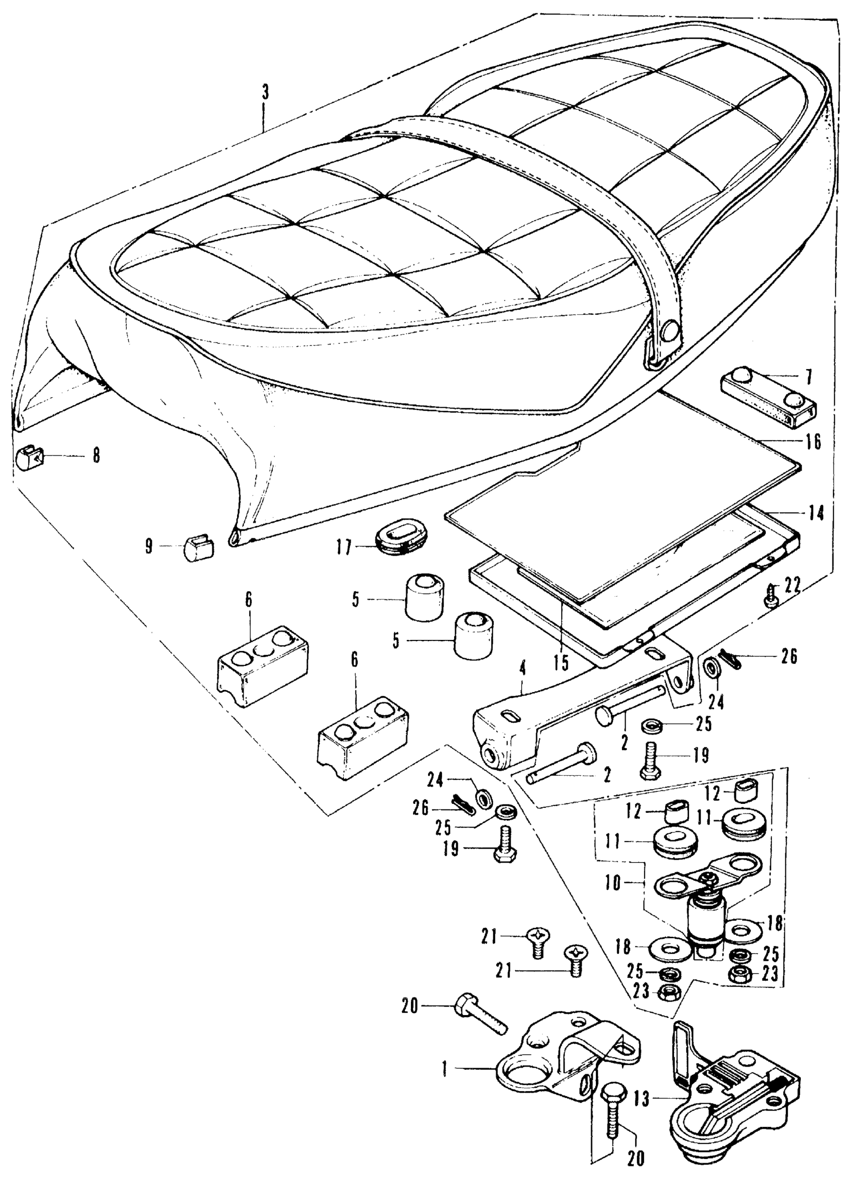
Honda CB500K1A MOTORCYCLE, JPN, VIN# CB500-2000001 SEAT K1-K2 Diagram
#
Description
Price
1
PLATE, SEAT LOCK SETTING (NOT AVAILABLE)
50223-323-010
Unavailable
2
BAR, SEAT HINGE
77103-313-000
Unavailable
3
SEAT ASSY. *NH1L* (BLACK) (NOT AVAILABLE)
77200-323-050A
Unavailable
4
HINGE, SEAT (NOT AVAILABLE) This part replaces 77201-323-000.
77201-323-010
Unavailable
4
HINGE, SEAT (NOT AVAILABLE)
77201-323-010
Unavailable
8
GARNISH, R. SEAT MOLDING (NOT AVAILABLE)
77211-323-300
Unavailable
9
GARNISH, L. SEAT MOLDING (NOT AVAILABLE)
77212-323-300
Unavailable
10
BAR ASSY., SEAT LOCK
77220-340-003
Unavailable
10
BAR ASSY., SEAT LOCK This part replaces 77220-340-010.
77220-340-003
Unavailable
10
BAR ASSY., SEAT LOCK This part replaces 77220-340-011.
77220-340-003
Unavailable
13
LOCK ASSY., SEAT (HONDALOCK)
77230-107-711
Unavailable
13
LOCK ASSY., SEAT (HONDALOCK) This part replaces 77230-347-003.
77230-107-711
Unavailable
14
LID, SEAT (LOWER) (NOT AVAILABLE)
77250-342-300
Unavailable
16
LID, SEAT (NOT AVAILABLE)
77260-323-300
Unavailable
