- Partiron
- OEM Parts
- Polaris
- ATV
- 1996
- 400L 6X6 - W968740
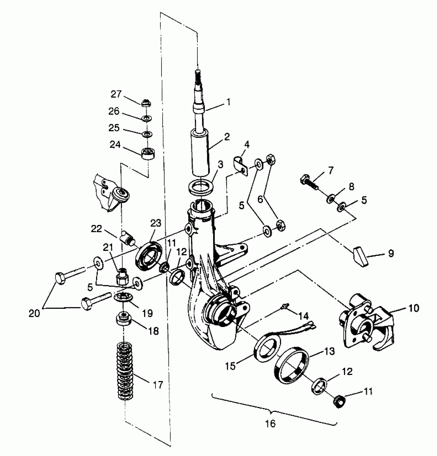
FRONT STRUT 6X6 400L - W968740 and 6X6 400L Norwegian - N968740 (4935963596B007)
Polaris 400L 6X6 - W968740 FRONT STRUT 6X6 400L - W968740 and 6X6 400L Norwegian - N968740 (4935963596B007) Diagram
#
Description
Price
1
BUMPER, STRUT Substituted by 5411468
5410791
Unavailable
2
STRUT,FRONT,32MM. Substituted by 7041755 (32 mm)
7041374
Unavailable
9
RETAINER,WIRE,STRUT CAST
5810439
Unavailable
10
Asm., Front Brake Caliper, LH (See Pg. B9)
-------
Unavailable
16
HUBSTRUT ASM,LH,HVY. Substituted by 2200975 (Incl. 9, 13-16)
2200609
Unavailable
16
HUBSTRUT ASM,RH,HVY. Substituted by 2200976 (Incl. 9, 13-16)
2200610
Unavailable
17
SPRING,COIL(STRUT),BLK.
7041450-067
Unavailable
18
RETAINER,SPRING,TOP
5220602
Unavailable
19
PIVOT BALL,BOTTOM Substituted by 5432871
5430807
Unavailable
22
Asm., Drive Shaft w/Sleeve (See Pg. B5 or B6, Ref.13)
-------
Unavailable
24
PIVOT BALL, TOP Substituted by 5432872
5430806
Unavailable
