125 SUPERMOTO 100 2000
FRONT FORK, TRIPLE CLAMP
Special tools (engine)
FRONT FORK DISASSEMBLED
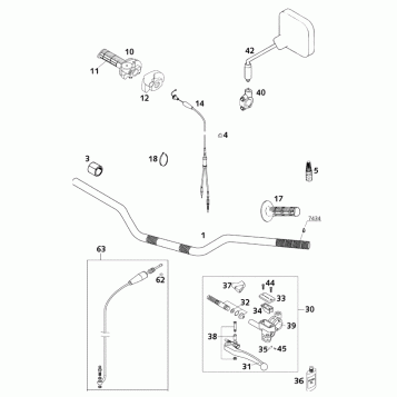
HANDLEBAR, CONTROLS
FRAME
SIDE / CENTER STAND
SHOCK ABSORBER
SWING ARM
EXHAUST SYSTEM
MAIN SILENCER
AIR FILTER
TANK, SEAT
MASK, FENDERS
DECAL
FRONT WHEEL
REAR WHEEL
WIRING HARNESS
ACCESSORIES
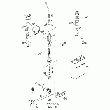
FRONT BRAKE CONTROL
REAR BRAKE CONTROL
FRONT BRAKE CALIPER
REAR BRAKE CALIPER
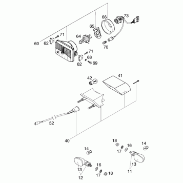
LIGHTING SYSTEM
INSTRUMENTS / LOCK SYSTEM
ENGINE CASE
CLUTCH COVER
CYLINDER, CYLINDER HEAD
CRANKSHAFT, PISTON
REED VALVE CASE
CARBURETOR
CLUTCH
TRANSMISSION I - MAIN SHAFT
TRANSMISSION II - COUNTERSHAFT
KICK STARTER
SHIFTING MECHANISM
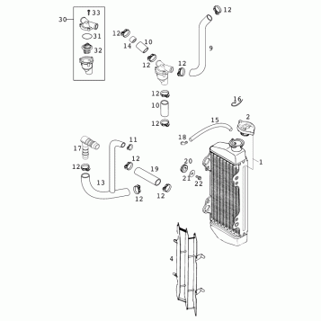
COOLING SYSTEM
EXHAUST CONTROL
LUBRICATING SYSTEM
IGNITION SYSTEM
Other
Fuel Your Passion
Parts That Keep You Riding
Edit ride