Kawasaki ZRX1100 Rear Master Cylinder Diagram
#
Description
Price
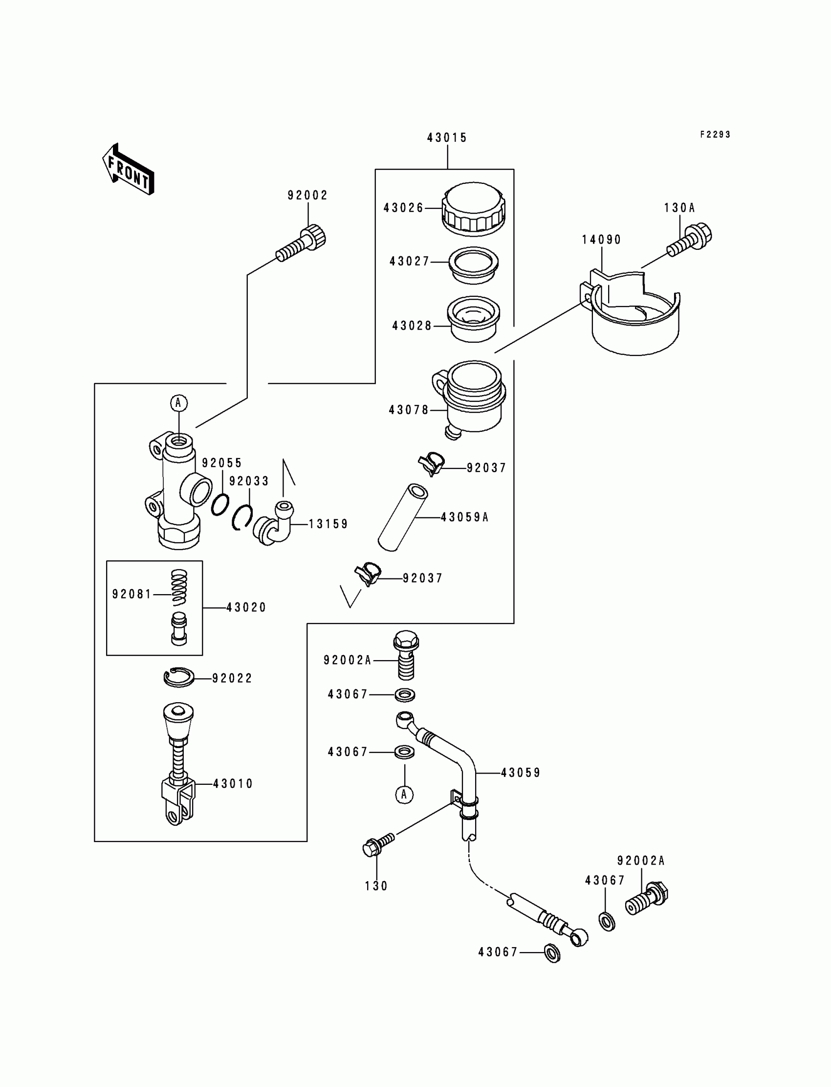
43059
HOSE-BRAKE,RR
43059-1989
Unavailable
92022
WASHER,CIRCRIP
92022-1601
Unavailable
92055
RING-O,MASTER CYLINDER
92055-1251
Unavailable
