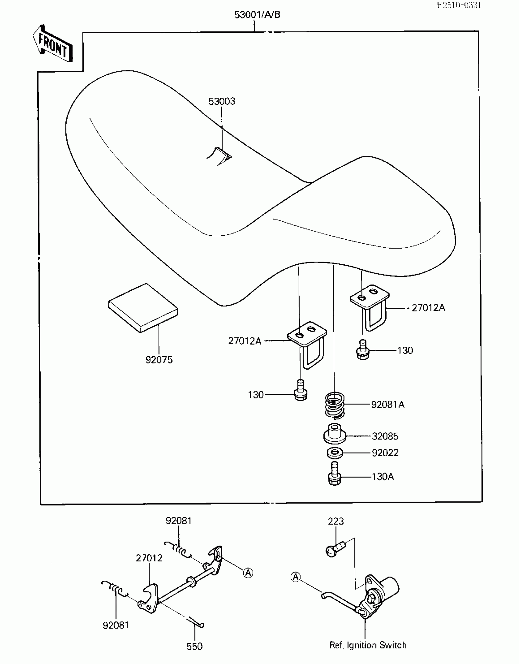
Kawasaki ZL600 Eliminator SEAT Diagram
#
Description
Price
32085
STOPPER,SEAT
32085-1167
Unavailable
92081A
SPRING,SEAT
92081-1664
Unavailable
#
32085
32085-1167
Unavailable
92081A
92081-1664
Unavailable
Edit ride
