- Partiron
- OEM Parts
- Kawasaki
- motorcycle
- 1987
- ZL1000 Eliminator
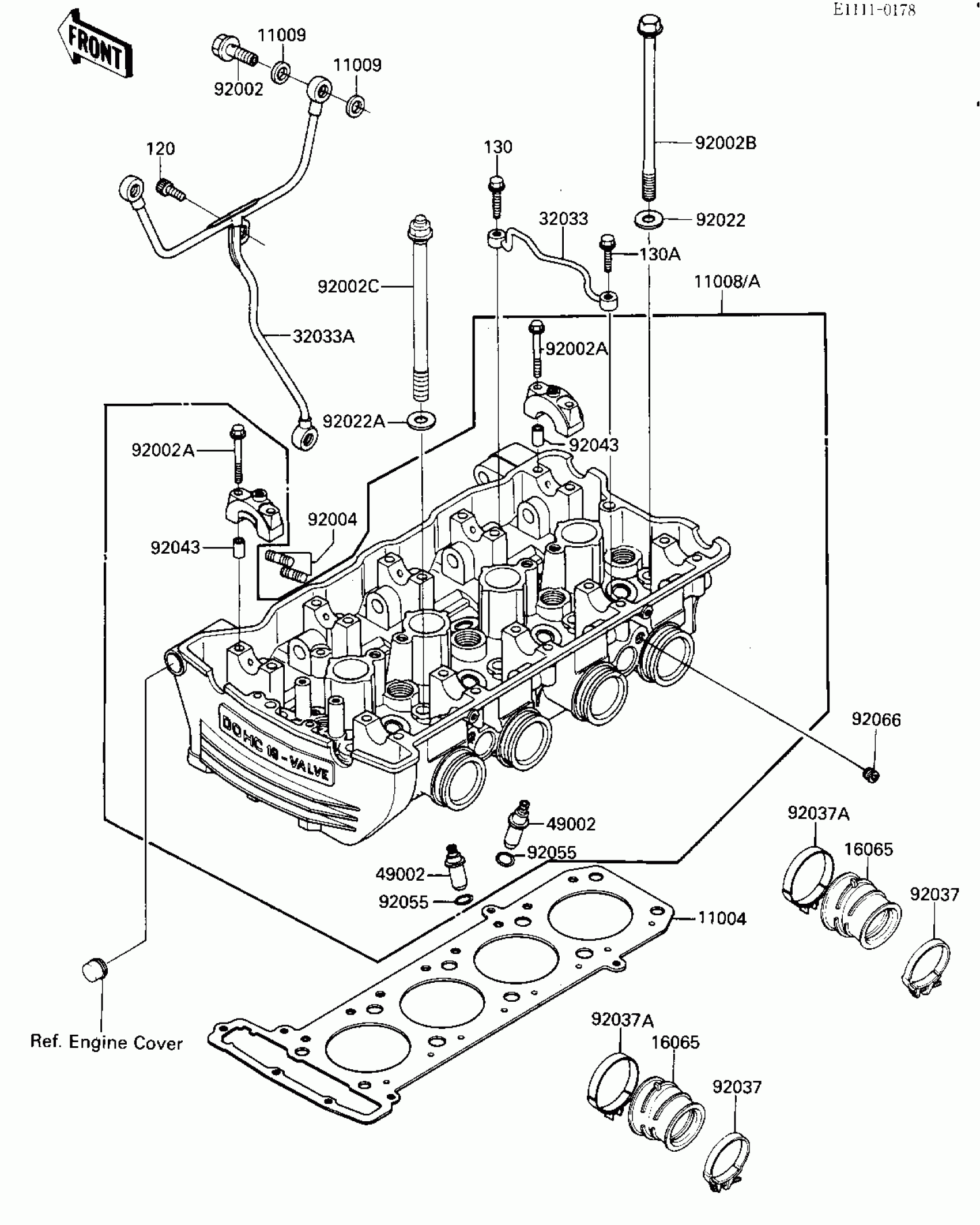
CYLINDER HEAD
Kawasaki ZL1000 Eliminator CYLINDER HEAD Diagram
#
Description
Price
11008A
HEAD-COMP-CYLINDER
11008-1178
Unavailable
16065
HOLDER-CARBURETOR
16065-1146
Unavailable
