Partiron

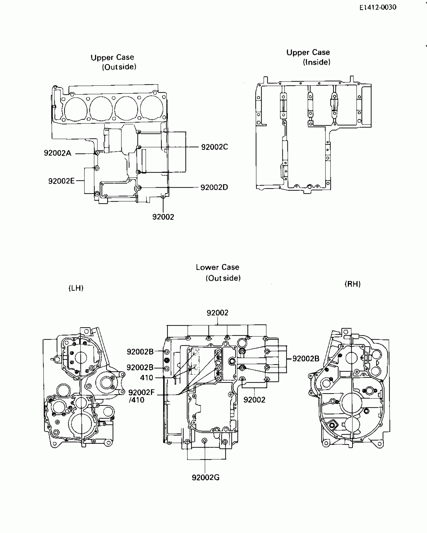
Kawasaki ZL1000 Eliminator CRANKCASE BOLT PATTERN Diagram

#

Description
Price

92002

BOLT,6X38

92001-1899

$4.39

92002A

BOLT,6X55

92002-1054

$5.24

92002B

BOLT,8X90

92002-1057

$9.89

92002C

BOLT,6X115

92150-1140

$7.22

92002D

BOLT,6X85

92002-1306

$5.59

92002E

BOLT,8X63

92002-1308

$8.66

92002F

BOLT,8X140

92150-1164

Unavailable

92002G

BOLT,6X120

92002-1654

$6.63

410

WASHER PLAIN 8MM

410B0800

$0.93