Partiron

Honda ZB50A (88) MOTORCYCLE, JPN, VIN# JH2AB220-JS000006 TO JH2AB220-JS003064 TAILLIGHT Diagram

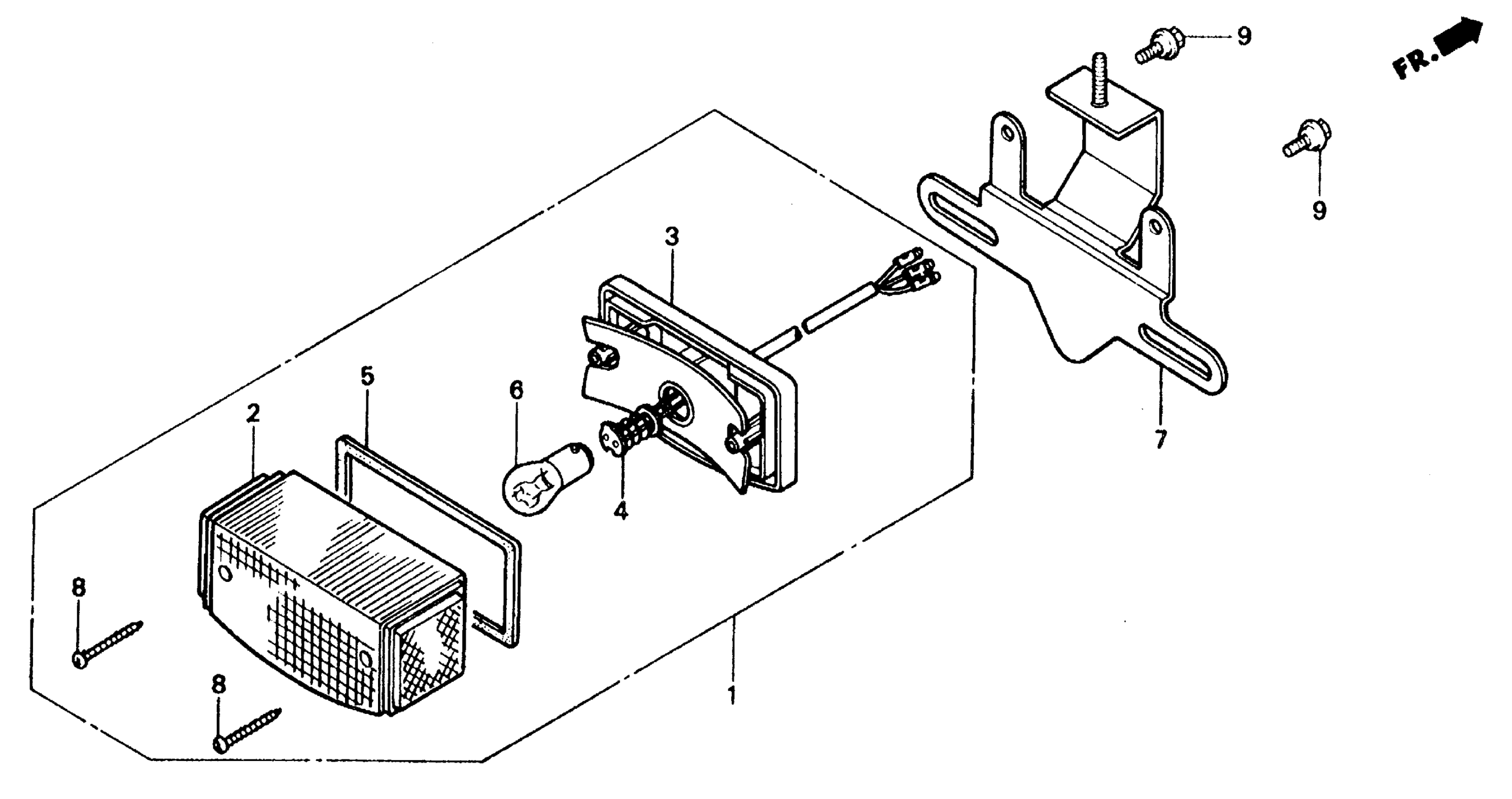
#

Description
Price

1

TAILLIGHT UNIT (12V 32/3CP) (NOT AVAILABLE)

33701-GS9-670

Unavailable

2

LENS, TAILLIGHT (COO) (STANLEY) This part replaces 33702-MC4-671.

33702-MGR-305

$27.88

3

BASE, TAILLIGHT

33703-MC4-671

Unavailable

4

WIRE, TAILLIGHT

33708-GS9-610

Unavailable

4

WIRE, TAILLIGHT This part replaces 33708-GS9-670.

33708-GS9-610

Unavailable

5

GASKET, TAILLIGHT LENS

33709-KB7-003

$4.22

6

BULB, TAILLIGHT (12V27/8W) (STANLEY)

34906-425-771

$4.40

7

BRACKET, NUMBER PLATE

84701-GS9-670

Unavailable

8

SCREW, TAPPING (4X40) This part replaces 90105-KB7-910.

90105-GAM-000

$4.92

9

BOLT, FLANGE (5X9)

90508-GC8-000

$4.35