Partiron

Kawasaki Z900 SE ABS Labels Diagram

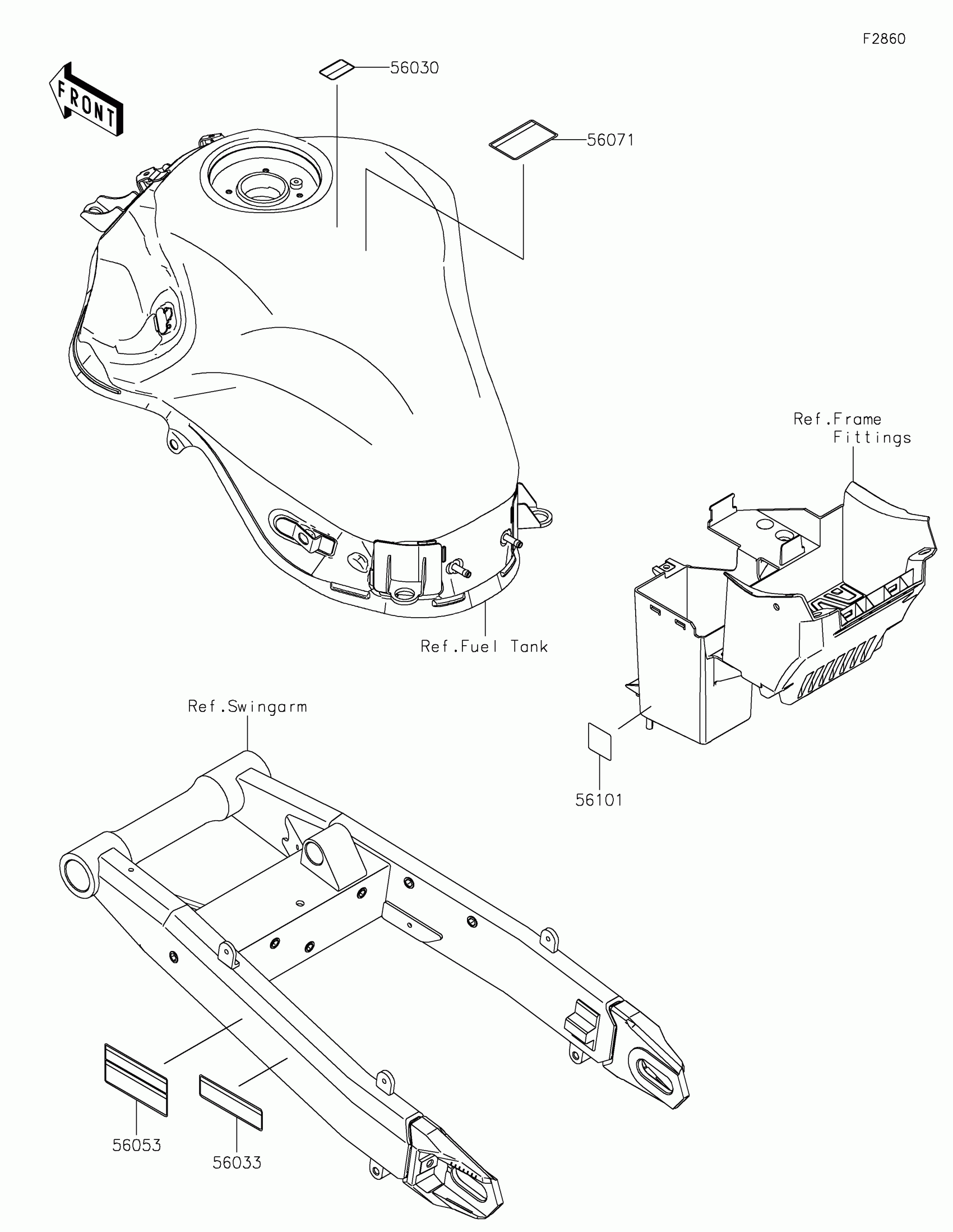
#

Description
Price

56030

LABEL,GASOLINE

56030-0357

$6.89

56033

LABEL-MANUAL,CHAIN

56033-0884

$7.64

56053

LABEL-SPECIFICATION,TIRE&LOAD

56053-2167

$17.94

56071

LABEL-WARNING,EVAPO

56071-0158

$6.89

56101

LABEL-CERTIFICATION,EVAPO

56101-0512

$3.91