- Partiron
- OEM Parts
- Kawasaki
- motorcycle
- 2018
- Z250SL ABS
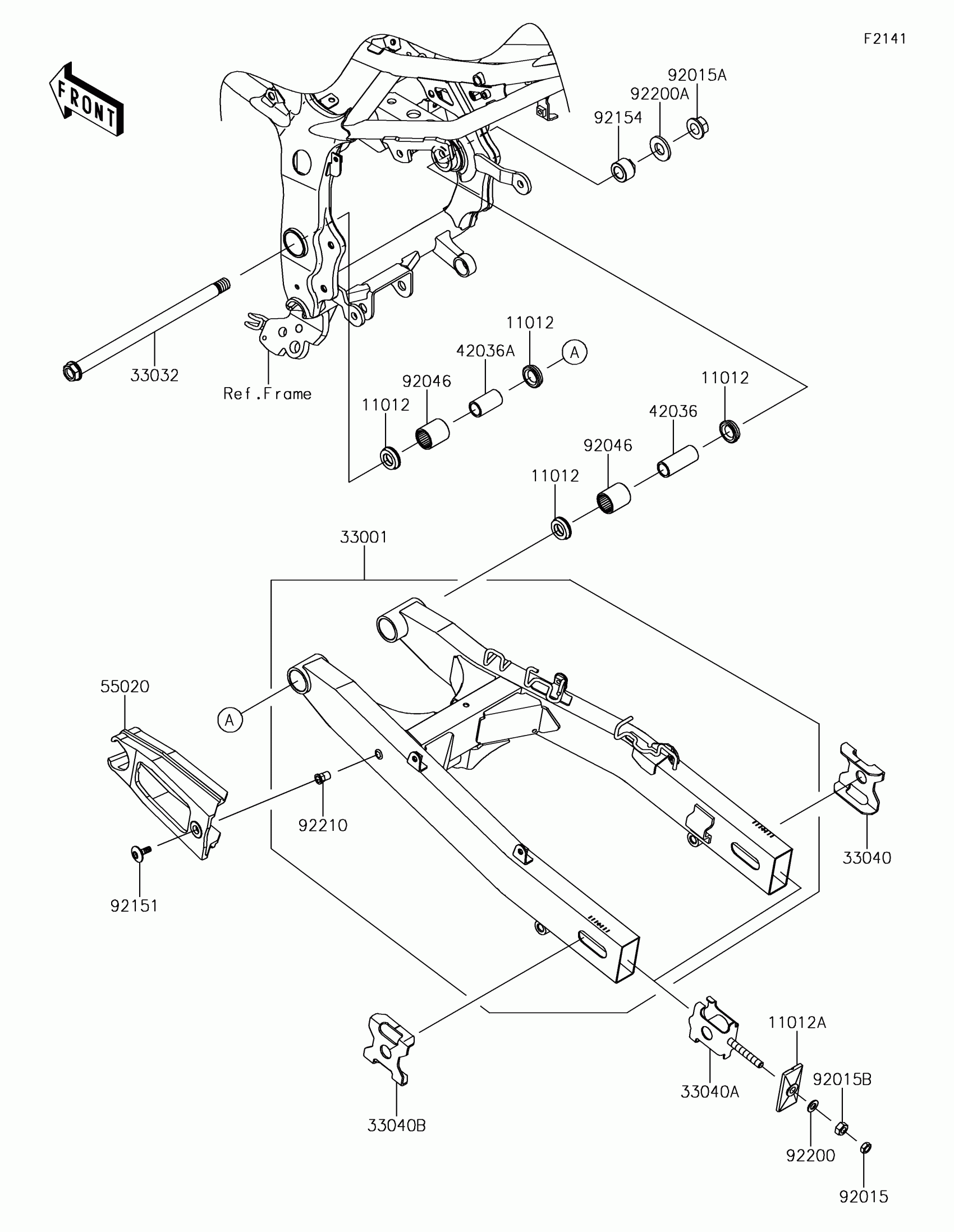
Swingarm
Kawasaki Z250SL ABS Swingarm Diagram
#
Description
Price
33040A
ADJUSTER-CHAIN,INNER
33040-0045
Unavailable
Swingarm
#
33040A
33040-0045
Unavailable
Edit ride
