Partiron

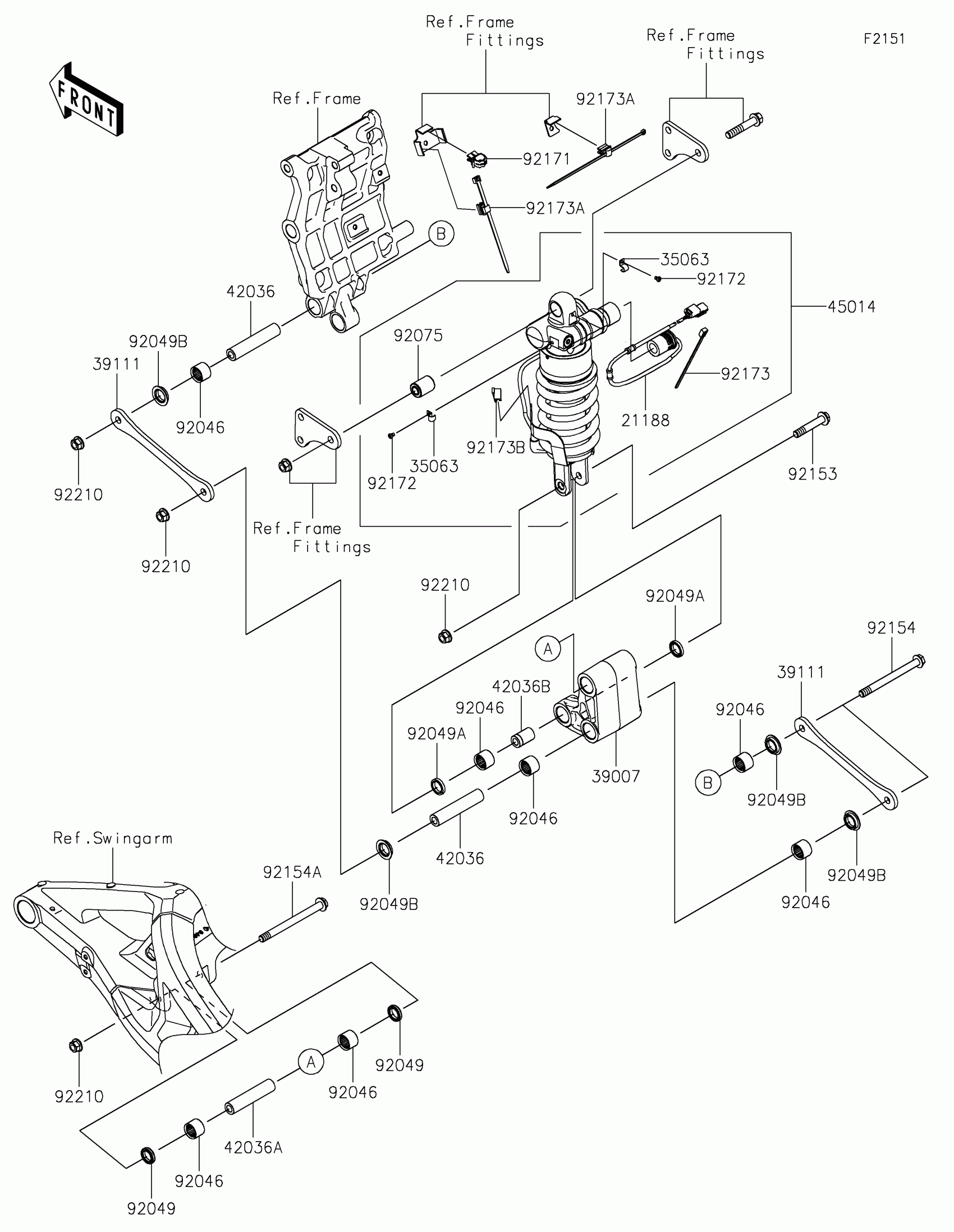
Kawasaki Z H2 SE Suspension/Shock Absorber Diagram

#

Description
Price

21188

SOLENOID

21188-0024

$557.35

35063

STAY

35063-1439

$13.31

39007

ARM-SUSP

39007-0443

$246.27

39111

ROD-TIE,SUSPENSION

39111-0375

$34.35

42036

SLEEVE,10.1X16X90.5

42036-0763

$43.06

42036A

SLEEVE,10.1X18X90.5

42036-0828

$28.78

42036B

SLEEVE,10.1X18X83.5

42036-0847

$37.32

42036C

SLEEVE,10.1X18X30

42036-1258

$12.35

45014

SHOCKABSORBER,KECS

45014-0692

$3,745.55

92046

BEARING-NEEDLE,16BM2212

92046-1192

$18.21

92046A

BEARING-NEEDLE,SFYZM182417

92046-1272

$16.42

92049

SEAL-OIL,SD0 17 24 5 NS

92049-0158

$7.58

92049A

SEAL-OIL,MHA18244

92049-1225

$9.28

92049B

SEAL-OIL,SD03 16 22 5.7

92049-1466

$12.32

92049C

SEAL-OIL,KCR MF018N1

92049-1493

$9.19

92075

DAMPER,SHOCKABSORBER

92075-1426

$12.32

92153

BOLT,FLANGED,10X55

92153-1546

$7.75

92154

BOLT,FLANGED,10X114

92154-1553

$15.16

92154A

BOLT,FLANGED,10X120

92154-4060

$9.95

92171

CLAMP,EDGE CLIP

92171-1722

$8.05

92172

SCREW

92172-1252

$1.17

92173

CLAMP

92173-1918

$7.43

92173A

CLAMP

92173-2077

$6.75

92173B

CLAMP

92173-2161

$13.10

92210

NUT,LOCK,FLANGED,10MM

92210-1139

$4.18