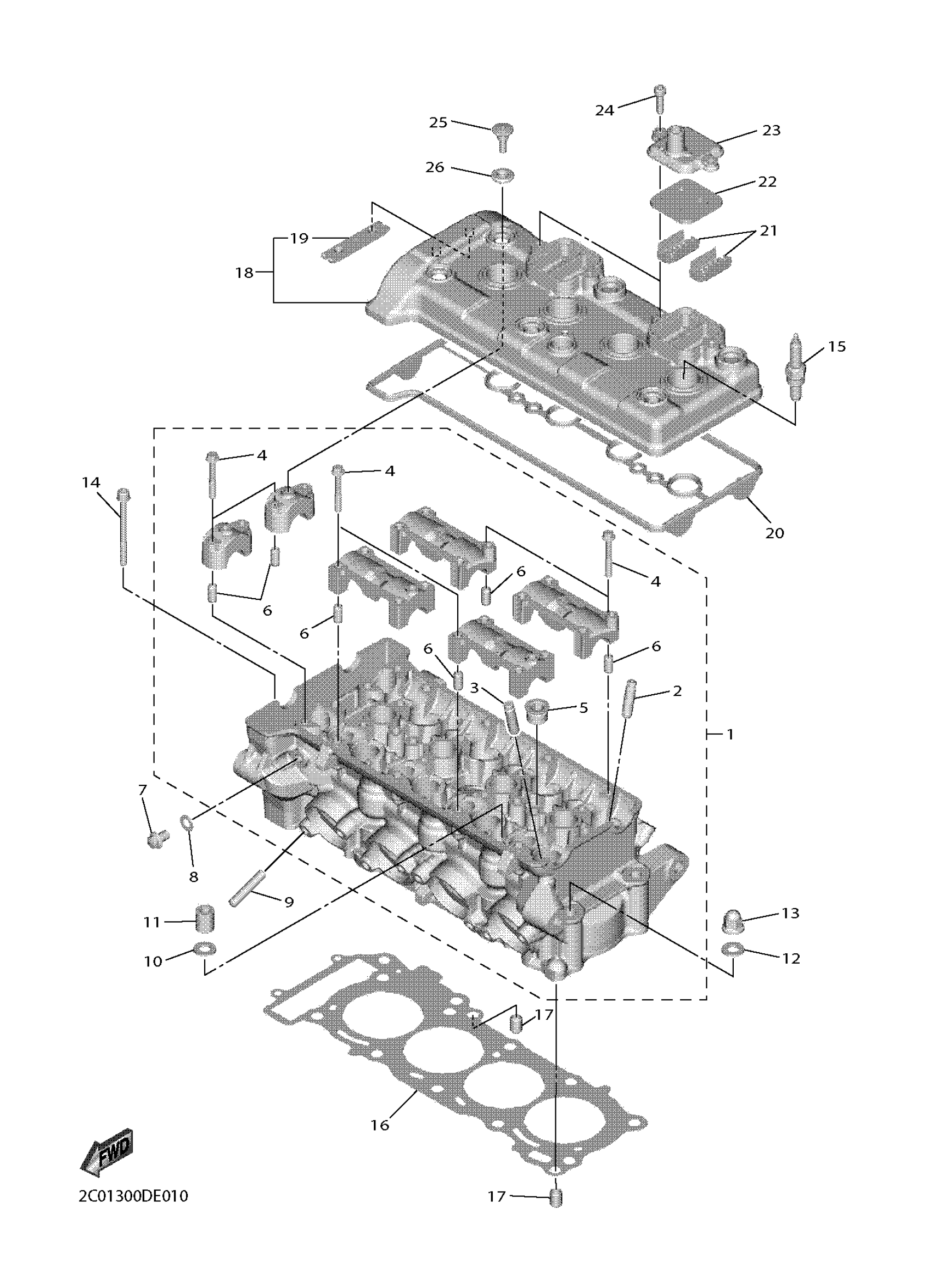
Yamaha YZFR6WSB (YZFR6 RACE) D512 2025 CYLINDER Diagram
#
Description
Price
15
CR10EK NGK SPLUG 10PK
CR1-0EK00-00-00
Unavailable
16
GASKET, CYLINDER HEAD 1
2C0-11181-01-00
Unavailable
17
PIN, DOWEL(3VD)
99530-10114-00
Unavailable
18
COVER, CYLINDER HE
2C0-11191-11-00
Unavailable
19
GUIDE, STOPPER 2
5BE-12241-01-00
Unavailable
20
GASKET, HEAD COVER 1
2C0-11193-00-00
Unavailable
21
PLATE
5VY-1482K-00-00
Unavailable
22
REED VALVE ASSY
5SL-14890-00-00
Unavailable
23
CAP, CASE
5VY-14899-01-00
Unavailable
24
BOLT,SOCKET HEAD
91314-06020-00
Unavailable
25
BOLT(4BP)
90109-066F0-00
Unavailable
26
RUBBER, MOUNT 1
5VY-1111G-00-00
Unavailable
