- Partiron
- OEM Parts
- Yamaha
- motorcycle
- 2007
- YZFR6WC (YZFR6 CA) 2C0G 2007
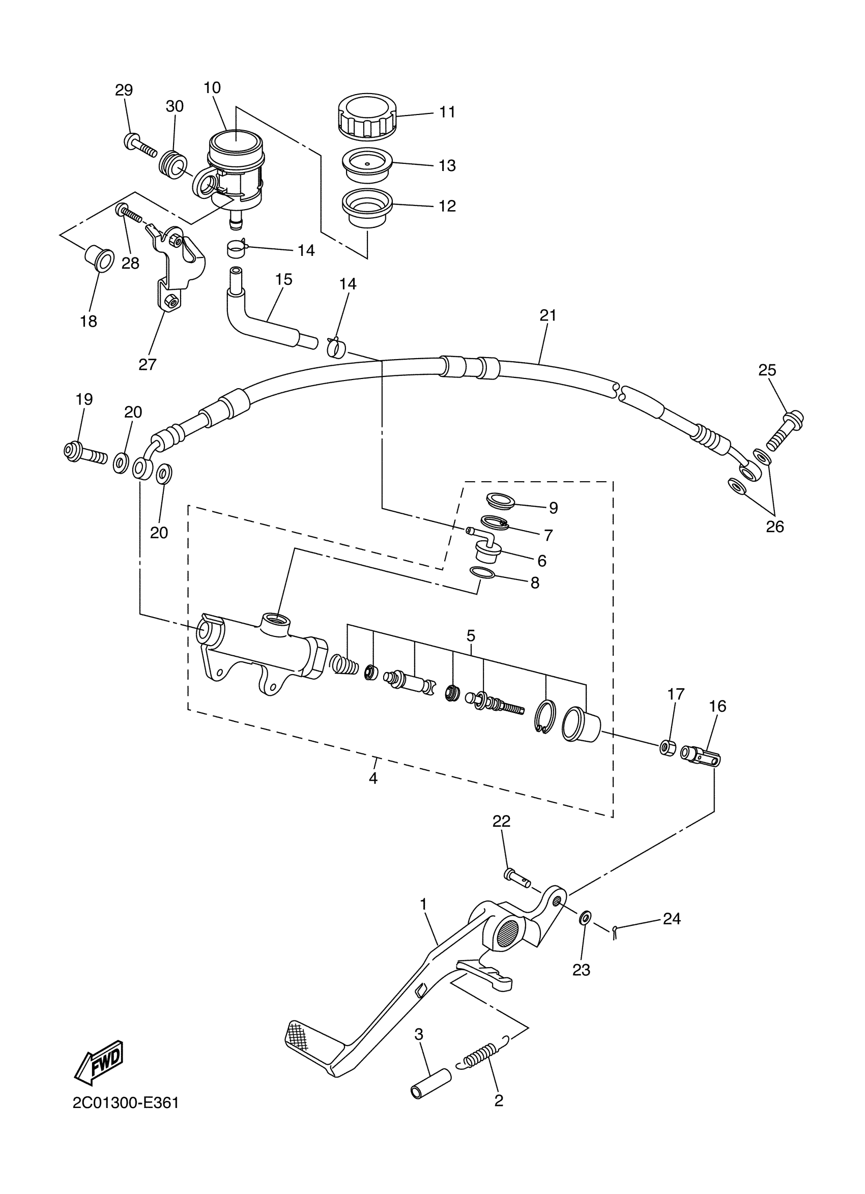
REAR MASTER CYLINDER
Yamaha YZFR6WC (YZFR6 CA) 2C0G 2007 REAR MASTER CYLINDER Diagram
#
Description
Price
4
RR. MASTER CYLINDER ASSY.
2C0-2583V-01-00
Unavailable
5
CYLINDER KIT, MASTER
5XT-W0042-60-00
Unavailable
11
CAP, RESERVOIR
4PX-25852-00-00
Unavailable
16
JOINT
4XV-27222-01-00
Unavailable
17
NUT, HEXAGON SMALL
95317-08700-00
Unavailable
18
COLLAR
90387-05028-00
Unavailable
19
BOLT, UNION
90401-10172-00
Unavailable
20
GASKET
90430-10005-00
Unavailable
21
HOSE, BRAKE
2C0-25874-00-00
Unavailable
22
PIN, CLEVIS (5X6)
91701-06018-00
Unavailable
23
WASHER(6TA)
92907-06200-00
Unavailable
24
PIN, COTTER
91490-16020-00
Unavailable
25
BOLT, UNION
90401-10172-00
Unavailable
26
GASKET
90430-10005-00
Unavailable
27
BRACKET, RESERVE UNIT
2C0-2134F-00-00
Unavailable
28
BOLT, BUTTON HEAD
92017-06025-00
Unavailable
29
BOLT,HEX. SOCKET BUTTON
90111-05026-00
Unavailable
30
GROMMET
2C0-26326-00-00
Unavailable
