- Partiron
- OEM Parts
- Yamaha
- motorcycle
- 2008
- YZFR6SXL (YZFR6S) 4P670 2008
REAR MASTER CYLINDER
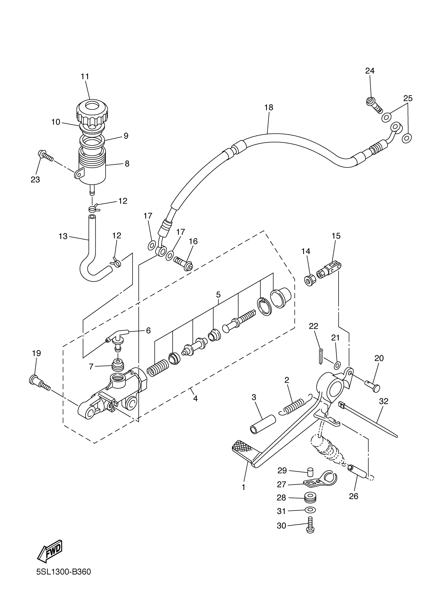
Yamaha YZFR6SXL (YZFR6S) 4P670 2008 REAR MASTER CYLINDER Diagram
#
Description
Price
4
RR. MASTER CYLINDER ASSY.
5SL-2583V-00-00
Unavailable
7
O-RING
4BP-2585F-01-00
Unavailable
16
BOLT, UNION
90401-10172-00
Unavailable
17
WASHER, PLATE(481)
90201-10118-00
Unavailable
18
HOSE, BRAKE
5SL-25874-00-00
Unavailable
19
BOLT
90109-06013-00
Unavailable
20
PIN, CLEVIS (5X6)
91701-06018-00
Unavailable
21
WASHER(6TA)
92907-06200-00
Unavailable
22
PIN, COTTER
91490-16020-00
Unavailable
23
SCREW, WITH WASHER (5U8)
90159-06056-00
Unavailable
24
BOLT, UNION
90401-10172-00
Unavailable
25
WASHER, PLATE(481)
90201-10118-00
Unavailable
26
HOSE
90446-08001-00
Unavailable
27
STAY, STOP SWITCH
5SL-2144G-00-00
Unavailable
28
GROMMET(4SV)
90480-12607-00
Unavailable
29
COLLAR 8121444900
90387-06023-00
Unavailable
30
BOLT, BUTTON HEAD
92017-06016-00
Unavailable
31
WASHER, PLATE
90201-06380-00
Unavailable
32
CLAMP
5Y9-12491-00-00
Unavailable
